EasyManua.ls Logo

Husqvarna YTH180 - Page 46

Husqvarna YTH180
52 pages
Print Icon
To Next Page IconTo Next Page
To Next Page IconTo Next Page
To Previous Page IconTo Previous Page
To Previous Page IconTo Previous Page
Loading...
46
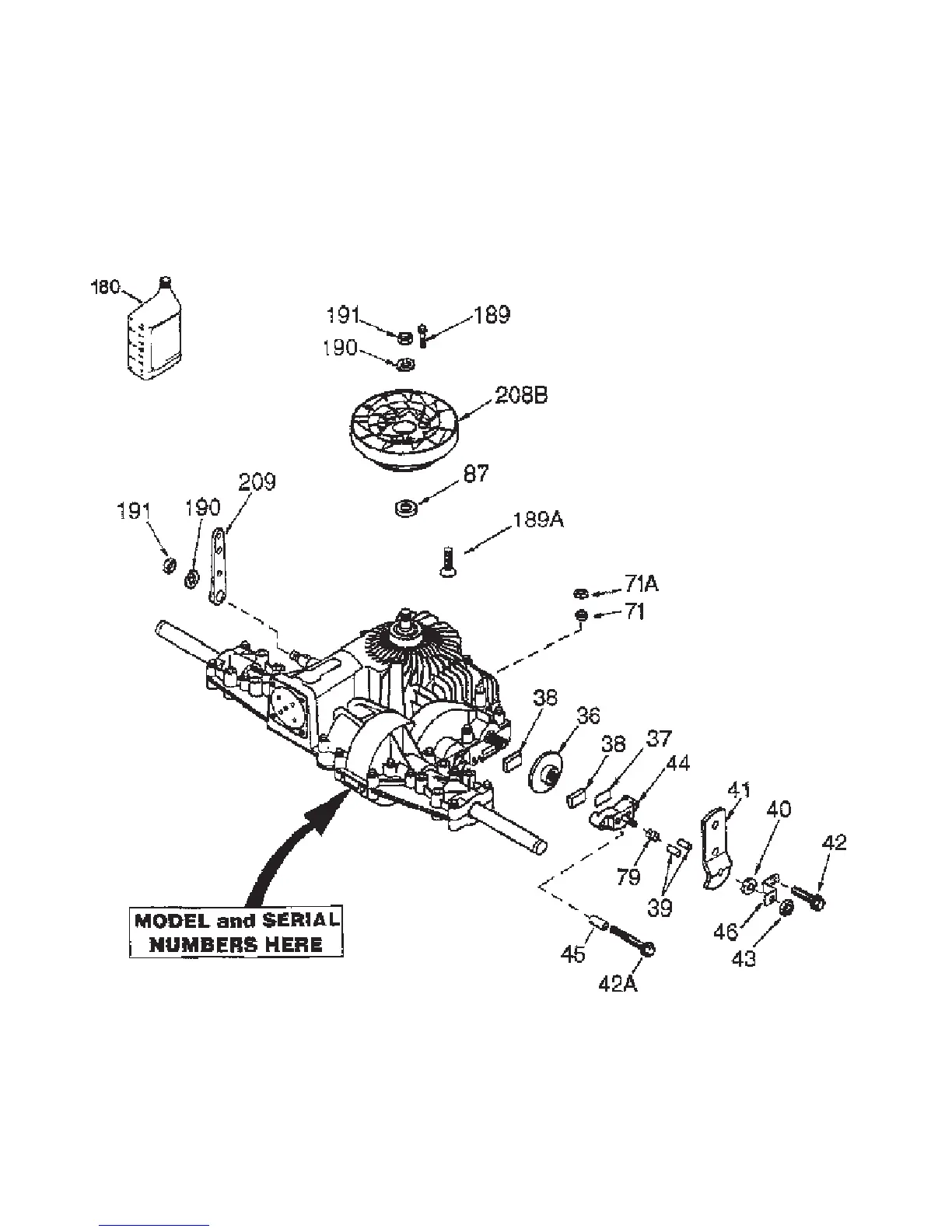
REPAIR PARTS
TRACTOR - MODEL NO. YTH180 (954140010D), PRODUCT NO. 954 14 00-10
PEERLESS TRANSAXLE - MODEL NUMBER 205-034B

Other manuals for Husqvarna YTH180

Related product manuals