EasyManua.ls Logo

IBM PCjr - Page 111

IBM PCjr
292 pages
Print Icon
To Next Page IconTo Next Page
To Next Page IconTo Next Page
To Previous Page IconTo Previous Page
To Previous Page IconTo Previous Page
Loading...
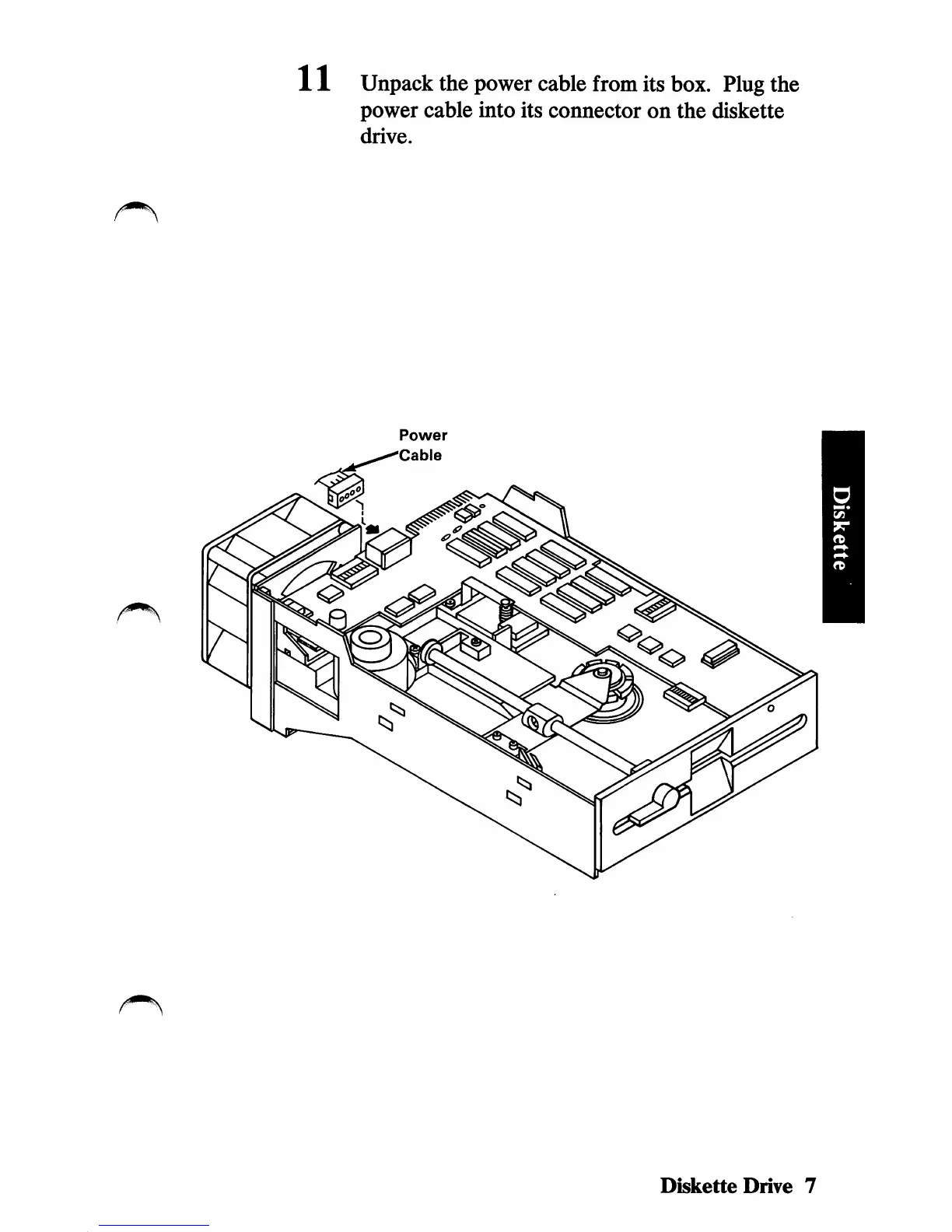
11
Unpack
the
power
cable
from
its
box.
Plug
the
power
cable
into
its
connector
on
the
diskette
drive.
Power
''Cable
Diskette
Drive
7

Other manuals for IBM PCjr

Related product manuals