EasyManua.ls Logo

IBM Power 750 Express 8408-E8D - 5888 Or EDR1 Pcie Storage Enclosure System Parts

IBM Power 750 Express 8408-E8D
336 pages
Print Icon
To Next Page IconTo Next Page
To Next Page IconTo Next Page
To Previous Page IconTo Previous Page
To Previous Page IconTo Previous Page
Loading...
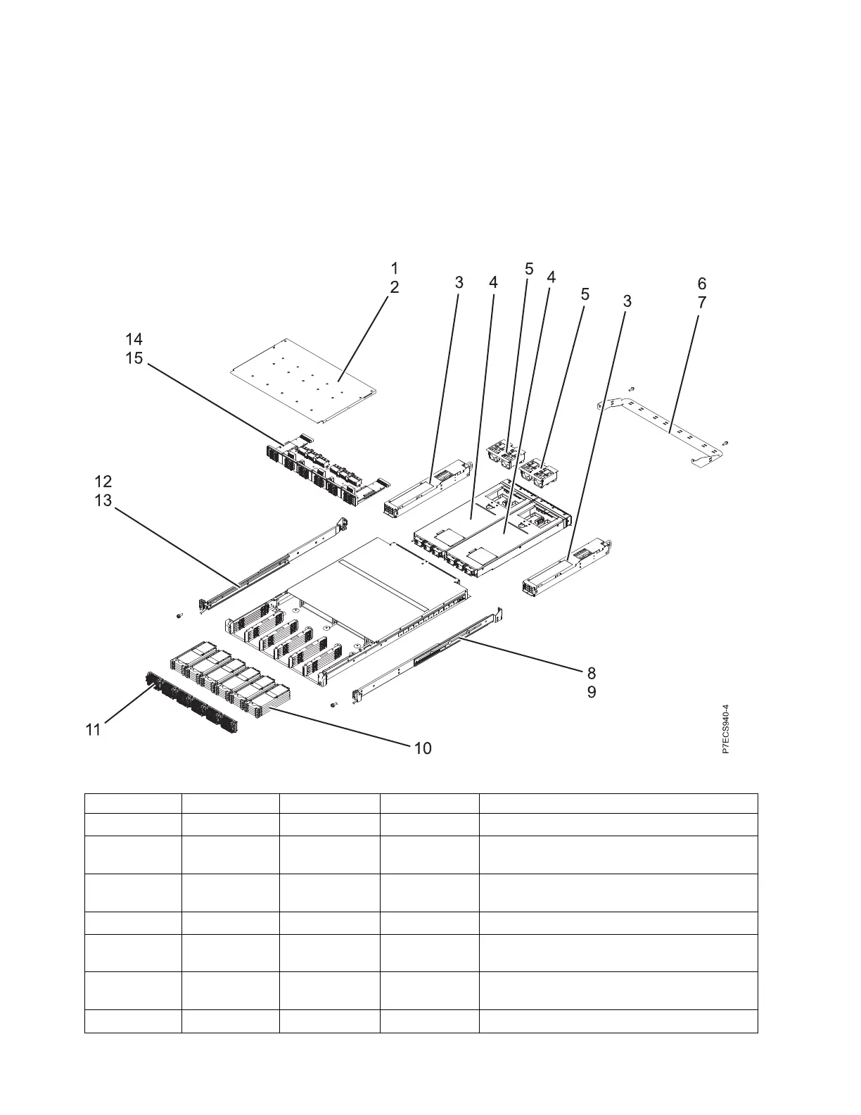
5888 or EDR1 PCIe storage enclosure system parts
Indexed drawings show system part numbers.
System assembly
Table 193. System assembly part numbers
Index number CCIN Part number Units Description
1 46K3617 1 Top access cover assembly
2 45D4772 17 Attaching screw for top access cover assembly
(upper)
2 45D4772 10 Attaching screw for top access cover assembly
(lower)
3 41T8211 2 Power supply
4 57C3 00E6451 2 Enclosure RAID module (ERM) for FC 5888
PCIe storage enclosure
4 57C3 00E7704 2 Enclosure RAID module (ERM) for FC EDR1
PCIe storage enclosure
5 41T8234 2 Fan assembly
310 Finding parts, locations, and addresses

Table of Contents

Related product manuals