EasyManua.ls Logo

iClever BTH02 - LED Indicator Status; Bluetooth Connection

iClever BTH02
6 pages
Print Icon
To Next Page IconTo Next Page
To Next Page IconTo Next Page
To Previous Page IconTo Previous Page
To Previous Page IconTo Previous Page
Loading...
BTH02
Quick Start Guide
What’s in the box
1
BTH02
Charging Cable
BTH02 Headphones User manul
3.5mm audio cable, warranty card, user manual, thanks card
-1-
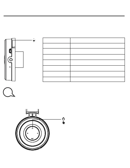
LED Indicator Light
MICRO USB Charging Port
3.5mm Audio Cable
MicroPhone
1Illustration
Multifunction Button
Power On/Off
Short Press
Short Press
Volume Up
Volume Down
Overview
2
Quick Start Guide
BTH02
-2-
2LED Indicator Instruction
3
1Turn On The Headphones
Bluetooth Connection
Headphones Status
Power on
Power off
BT Pairing
BT Connected
Low Battery
In charging process
LED Indicator
Blue indicator flashes 4 times
Red indicator glows for 1s and goes off
The indicator flashes red and blue alternately
Blue indicator flashes once every 7 seconds
Red indicator flashes twice every 2 seconds
Red indicator lights up sturdily
The LED indicator light will turn blue
Fully Charged
Note: The headphones will automatically enter pairing
mode when being switched on for the first time.
Quick Start Guide
BTH02
-3-
Music Control
4
Next Track Previous Track
×3 Times
×2 Times
Press
Press
iClever-BTH02
2Connect to Bluetooth Device
Quick Start Guide
BTH02
-4-
Specifications
6
5
Phone Call
Premium 40mm Dynamic Driver
Frequency Respense:20Hz - 20KHz
Support:BT5.0 A2DP v1.2, AVRCP v1.5, HFPv1.5,HSPv1.2
Bluetooth transmitter frequency range:2.402-2.480GHz
Bluetooth transmitter power<4dBm
Bluetooth transmitter modulation:GFSK π/4 DQPSK,8DPSK
Battery type:Lithium-ion Polymer(3.7V,500 mAH)
Battery charge time <2hrs
Music play time 22hrs
Weight: 0.15kg
Answer End Call
Reject
Long Press 3S
×1 Times
Press
×1 Times
Press
Quick Start Guide
BTH02
-5-
BTH02
Schnellstartanleitung
Was Ist In Der Box
1
BTH02
Ladekab
BTH02 Headphones User manul
3.5 mm audiokabel, garantiekarte, bedienungsanleitung, dankeskarte
-6-
LED Indikator Licht
Micro USB Ladeanschluss
3.5mm Audio Kabel
Mikrophone
1Illustration
Multifunktionsknopf
Power AN/AUS
Lautstärke
Lautstärke
Schnellstartanleitung
Überblick
2
BTH02
-7-
Schnellstartanleitung
2LED Anzeige Anleitung
3
1Schalten Sie Die Kopfhörer Ein
Bluetooth Verbindung
Kopfhörer Status
Power AN
Power AUS
BT Kopplung
BT Verbunden
Niedriger Batteriestatus
Im Ladevorgang
Voll aufgeladen
LED Anzeige
Blaue LED blinkt 4 mal
Rote Anzeige leuchtet für 1s und geht dann aus
Die Anzeige blinkt abwechselnd rot und blaue
Die blaue Anzeige blinkt einmal alle 7 Sekunden
Die rote Anzeige blinkt zweimal alle 2 Sekunden
Die rote Anzeige leuchtet stark auf
Die Led-anzeige wird blau
Hinweis: Der kopfhörer wechselt beim ersten einschalten
Automatisch in den kopplungs-modus.
BTH02
-8-
Antwort Auflegen
Ablehnen
Lange Presse 3S
×1 Zeiten
Drücken
×1 Zeiten
Drücken
Spezifikationen
6
5
Anruf
Premium 40mm Dynamischer Treiber
Frequenzgang: 20 Hz - 20 kHz
Bluetooth-Version: BT5.0 A2DP V1.2, AVRCP V1.5,
HFPV1.5, HSPV1.2
Bluetooth Sender Frequenzbereich: 2.402-2.480GHz
Bluetooth Sendeleistung <4dBm
Bluetooth-Übertragungsmodulation: GFSK / 4DQPSK 8DPSK
Batterietyp: 3.7 V / 500 mAh Lithium-Ionen-Polymer
Ladezeit: weniger als 2 Stunden
Musikspielzeit: 22 Stunden
Gewicht: 0.15 kg
Schnellstartanleitung
BTH02
-10-
BTH02
Guide De Démarrage Rapide
Qu'a-t-il Dans La Blite
1
BTH02
Câble De Chargement
BTH02 Headphones User manul
Câble audio 3.5mm, carte de garantie, guide utilisateur , carte de
remerciements
-11-
Indicateur lumineux LED
Port De Chargement MICRO USB
Câble Audio 3.5mm
Microphone
1Illustration
Bouton Multifonction
Allumage On/Off
Volume
Volume
Guide De Démarrage Rapide
Vue Du Dessus
2
BTH02
-12-
Guide De Démarrage Rapide
2Instructions De L'indicateur Led
3
1Allumer Les Écouteurs
Connexion Bluetooth
Statut Des Écouteurs
Allumé
Éteint
Jumelage Bluetooth
Connecté en Bluetooth
Batterie faible
Charge en cours
Indicateur LED
Le LED bleu clignote 4 fois
L'indicateur rouge brille une seconde et s'éteint Re
L'indicateur clignote en alternant rouge et bleu in
L'indicateur bleu clignote une fois toutes les 7 secondes Bl
L'indicateur rouge clignote deux fois toutes les deux secondes Re
Le voyant rouge s'allume
L'indicateur LED deviendra bleu
Entièrement chargé
Remarque : Le casque passera automatiquement en mode
de jumelage lors de la première mise en route
BTH02
-13-
Réponse
Raccrocher le
téléphone
Rejeter
Presse Longue 3S
×1 Fois
Appuyer sur
×1 Fois
Appuyer sur
Caractéristiques
6
5
Appels Téléphoniques
Guide De Démarrage Rapide
BTH02
-15-
Pilote dynamique Premium 40mm
Réponse en fréquence: 20Hz - 20KHz
Version Bluetooth: BT5.0 A2DP V1.2, AVRCP V1.5,
HFPV1.5, HSPV1.2
Gamme de fréquence d'émetteur Bluetooth : 2.402-2.480GHz
Puissance de transmission Bluetooth <4dBm
Modulation de transmission Bluetooth: GFSK / 4DQPSK 8DPSK
Type de batterie: polymère lithium-ion 3.7V / 500mAh
Temps de charge: moins de 2 heures
Temps de musique: 2
2 heures
Poids: 0.15 kg
BTH02
Guía De Inicio Rápido
Qué Hay En La Caja
1
BTH02
Cable De Carga
BTH02 Headphones User manul
Cable de audio de 3.5 mm, tarjeta de garantía, manual del usuario, tarjeta
de agradecimiento
-16-
Luz Indicadora LED
Puerto De Carga USB MICRO
Cable De Audio De 3.5 mm
Micrófono
1Ilustración
Botón Multifunción
Encendido / Apagado
Volumen
Volumen
Guía De Inicio Rápido
Resumen
2
BTH02
-17-
Guía De Inicio Rápido
2Instrucciones Del Indicador LED
3
1Encienda Los Auriculares
Conexión Bluetooth
Estado de los
auriculares
Encendido
Apagado
Emparejamiento bluetooth
Bluetooth conectado
Batería baja
Cargando
Indicador LED
El LED azul parpadea 4 veces
El indicador rojo se ilumina durante 1s y se apaga
El indicador parpadea en rojoy azul alternativamente
El indicador azul conectado BT parpadea una vez cada
7 segundos
El indicador rojo parpadea dos veces cada 2 segundos
Durante el proceso de carga, el indicador rojo se
enciende firmemente
El indicador LED se volveráazul
Completamente cargado
Nota: Los auriculares entrarán automáticamente en modo de
emparejamiento cuando se enciendan por primera vez.
BTH02
-18-
Respuesta Cuelga el teléfono Rechazar
Prensa larga 3S
×1 Veces
Pulse
×1 Veces
Pulse
Especificaciones
6
5
Llamada Telefónica
Controlador dinámico premium de 40 mm
Respuesta de frecuencia: 20Hz - 20KHz
Versión de Bluetooth: BT5.0 A2DP V1.2, AVRCP V1.5,
HFPV1.5, HSPV1.2
Rango de frecuencia del transmisor Bluetooth: 2.402-2.480GHz
Potencia de transmisión Bluetooth <4dBm
Modulación de transmisión Bluetooth: GFSK / 4DQPSK 8DPSK
Tipo de batería: polímero de iones de litio de 3.7V / 500mAh
Tiempo de carga: menos de 2 horas
Tiempo de reproducción de música: 2
2 horas.
Peso: 0.15kg
Guía De Inicio Rápido
BTH02
-20-
BTH02
Guida Inizio Rapida
Cosa C'è Nella Scatola
1
BTH02
Cavo Di Ricarica
BTH02 Headphones User manul
Cavo audio da 3.5 mm, scheda di garanzia, manuale utente, scheda di
ringraziamento
-21-
Indicatore LED Luminoso
Porta Ricaricabile MICRO USB
Cavo Audio 3.5 mm
Microfono
1Illustrazioni
Pulsante Multifunzione
Accensione / Spegnimento
Volume
Volume
Guida Inizio Rapida
Panoramica
2
BTH02
-22-
Guida Inizio Rapida
2Istruzioni Indicatore LED
3
1Accendi Le Cuffie
Conexión Bluetooth
Stato cuffie
Accensione
Spegnimento
Associazione
Connessione BT
Batteria scarica
E' avviato il processo di
ricarica
Indicatore LED
L'indicatore blu lampeggia 4 volte
L'indicatore rosso si illumina per 1 secondo e si spegne
L'indicatore rosso e blu bianco lampeggiano
alternativamente
L'indicatore blu lampeggia una volta ogni 7 secondi
L'indicatore rosso lampeggia due volte ogni 2 secondi
L'indicatore rosso si accende in maniera fissa
L'indicatore LED diventerà blu
Completamente carica
Nota: le cuffie entreranno automaticamente in modalità di
associazione quando vengono accese per la prima volta.
BTH02
-23-
Rispondere
Riattacchiamo
Non-rifiuto
Stampa lunga 3S
×1 Moltiplicato
Passeggiata
×1 Moltiplicato
Passeggiata
Specifications
6
5
Phone Call
Driver Dinamico Premium Da 40 Mm
Risposta In Frequenza: 20hz - 20khz
Versione Bluetooth: Bt5.0 A2dp V1.2, Avrcp V1.5,
Hfpv1.5, Hspv1.2
Bluetooth Transmitter testi estensione: 2.402 2.480 GHz
Potenza Di Trasmissione Bluetooth <4dBm
Modulazione Di Trasmissione Bluetooth: GFSK / 4DQPSK 8DPSK
Tipo Di Batteria: Polimero Agli Ioni Di Litio Da 3.7 V / 500 MAH
Tempo Di Ricarica: Meno Di 2 Ore
Tempo Di Riproduzione Musicale: 2
2 Ore
Peso: 0.15 Kg
Guida Inizio Rapida
BTH02
-25-
FCC ID:2AUKD-BTH02
80*100mm 骑马钉 书写纸,黑白印刷
BTH02
English 1-5
Deutsch
6-10
Français 11-15
Español
16-20
Italiano
21-25
User Manual
BTH02 Headphones
iClever-BTH02
Musiksteuerung
4
Nächstes StückVorheriger Track
×3 Zeiten
Drücken
×2 Zeiten
Drücken
Schnellstartanleitung
2Stellen Sie Eine Verbindung Zum Bluetooth-gerät
BTH02
-9-
iClever-BTH02
Contrôle De La Musique
4
piste suivantePiste précédente
×3 Fois
Appuyer sur
×2 Fois
Appuyer sur
Guide De Démarrage Rapide
2Connexion À Un Appareil Bluetooth
BTH02
-14-
iClever-BTH02
Control Musical
4
Siguiente pistaPista anterior
×3 Veces
×2 Veces
Pulse
Pulse
Guía De Inicio Rápido
2Conéctese Al Dispositivo Bluetooth
BTH02
-19-
iClever-BTH02
Controllo Musicale
4
Nuova TracciaTraccia Precedente
×3 Moltiplicato
×2 Moltiplicato
Passeggiata
Passeggiata
Guida Inizio Rapida
2 Connetti A Dispositivo Bluetooth
BTH02
-24-
机种型号
产品名称
客户订单号
产品编号
物料编码
制作(Drawn) 审核(Checked) 核准(Approved)
页次
单位
MM
比例 版本
纸张
A4
未注公差
0.1
1 OF 2

Related product manuals