EasyManua.ls Logo

ICON MP14-ARGON - Know Your Tablet; Get to Know Your System

ICON MP14-ARGON
26 pages
Print Icon
To Next Page IconTo Next Page
To Next Page IconTo Next Page
To Previous Page IconTo Previous Page
To Previous Page IconTo Previous Page
Loading...
7
1 Know Your Tablet
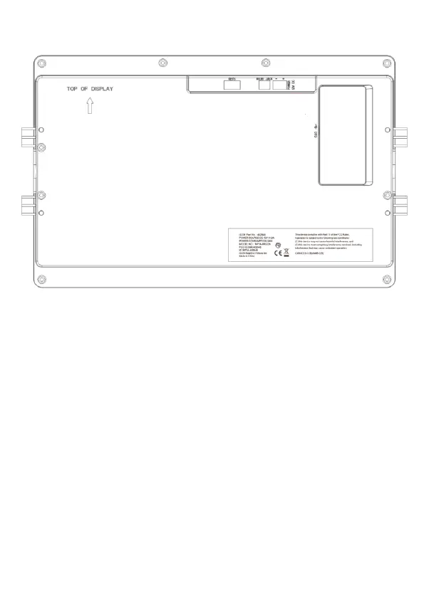
KEYS: connect to the console through a cable, so that the host can
control the volume or reset
AUDIO JACK: connect to the console through a cable to provide
audio signal output.
2 Get to Know Your System
Connect to the power supply and then it will display the home screen
as below picture
Picture1-1

Related product manuals