EasyManua.ls Logo

IDEAL 2445 CC

IDEAL 2445 CC
576 pages
To Next Page IconTo Next Page
To Next Page IconTo Next Page
To Previous Page IconTo Previous Page
To Previous Page IconTo Previous Page
Loading...
- 16 -
IDEAL 2445 • IDEAL 2465
2.
1.
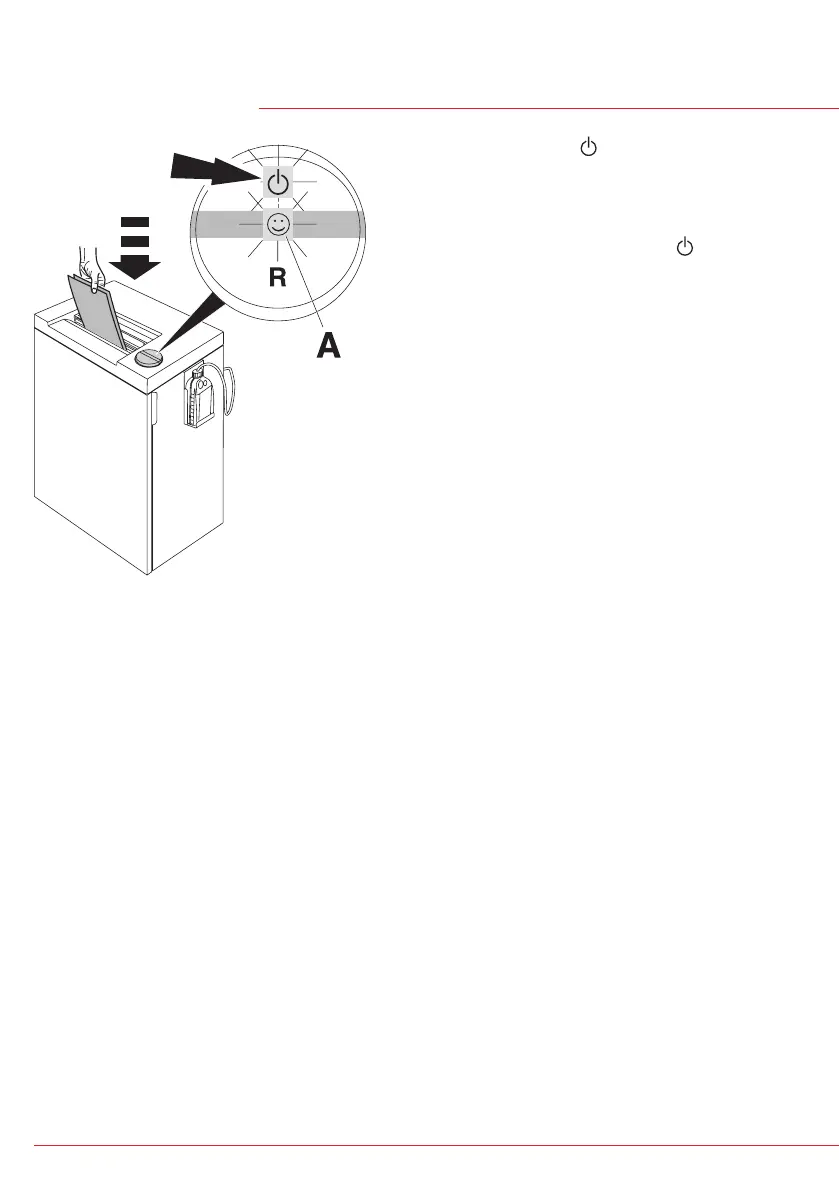
Obsluha
Zmačkněte spínač (1.): svítí zelené světlo.
Stroj je připraven k provozu (2.). Automatické
spuštění při vložení papíru. Automatický
standby režim - vypnutí po 30 minutách. Stroj
lze vypnout kdykoliv stisknutím tlačítka po
dobu 2 vteřin. Zelená kontrolka zhasne.
Stroj pak nespotřebovává žádnou energii.
Upozornění:všechnystrojemají
ukazatel ECC
(ElectronicCapacityControl)-
elektronický ukazatel aktuálního zatížení
při skartaci (A)

Related product manuals