EasyManua.ls Logo

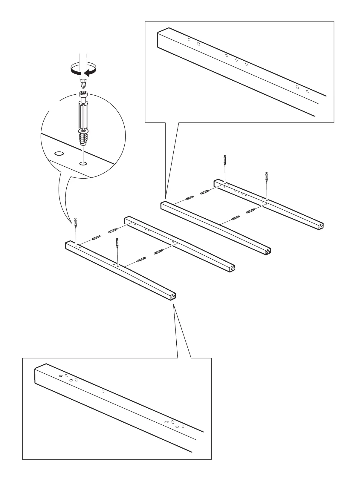
IKEA OLDERDALEN - Step 2: Attach Side Supports

IKEA OLDERDALEN
24 pages
Print Icon
To Next Page IconTo Next Page
To Next Page IconTo Next Page
To Previous Page IconTo Previous Page
To Previous Page IconTo Previous Page
Loading...
12x
118331
1
2
3
4
5
6
7
8
9
10
11
12
13
14
15
16
17
18
19
20
21
22
23
24
25
26
27
28 29
30
5

Related product manuals