EasyManua.ls Logo

iLiving ILG001TH - Page 8

iLiving ILG001TH
12 pages
Print Icon
To Next Page IconTo Next Page
To Next Page IconTo Next Page
To Previous Page IconTo Previous Page
To Previous Page IconTo Previous Page
Loading...
8
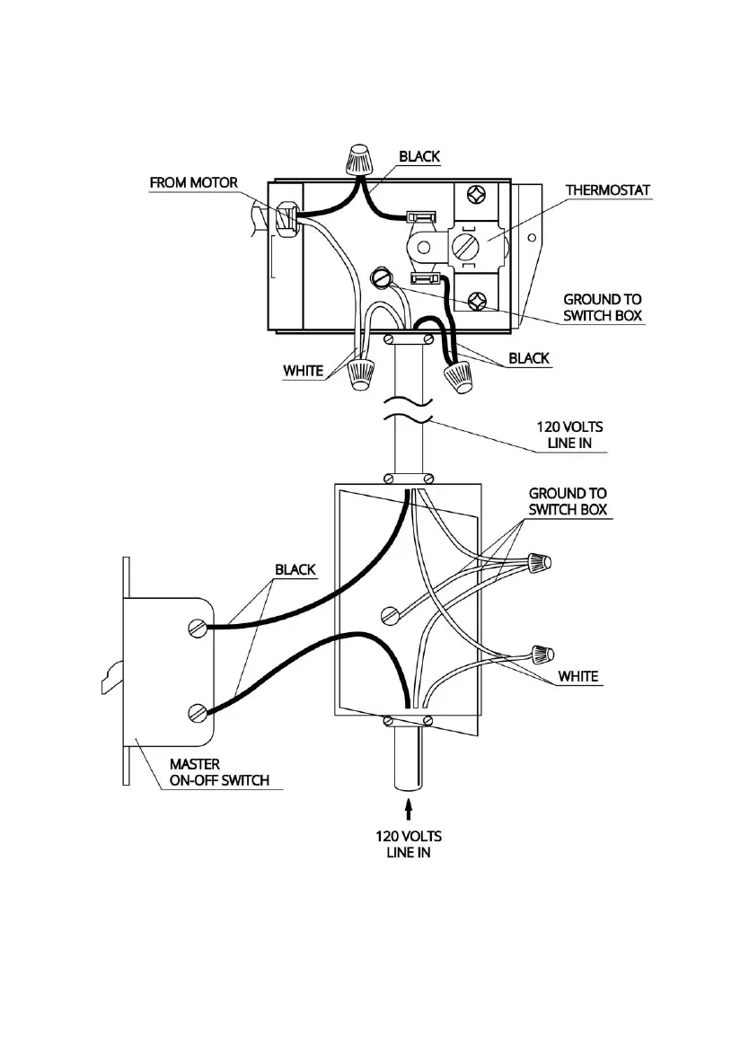
Wiring Diagram for ILG002T