EasyManua.ls Logo

ILVE ILREF316I/2 - Page 18

ILVE ILREF316I/2
28 pages
Print Icon
To Next Page IconTo Next Page
To Next Page IconTo Next Page
To Previous Page IconTo Previous Page
To Previous Page IconTo Previous Page
Loading...
18
Rev.13052022
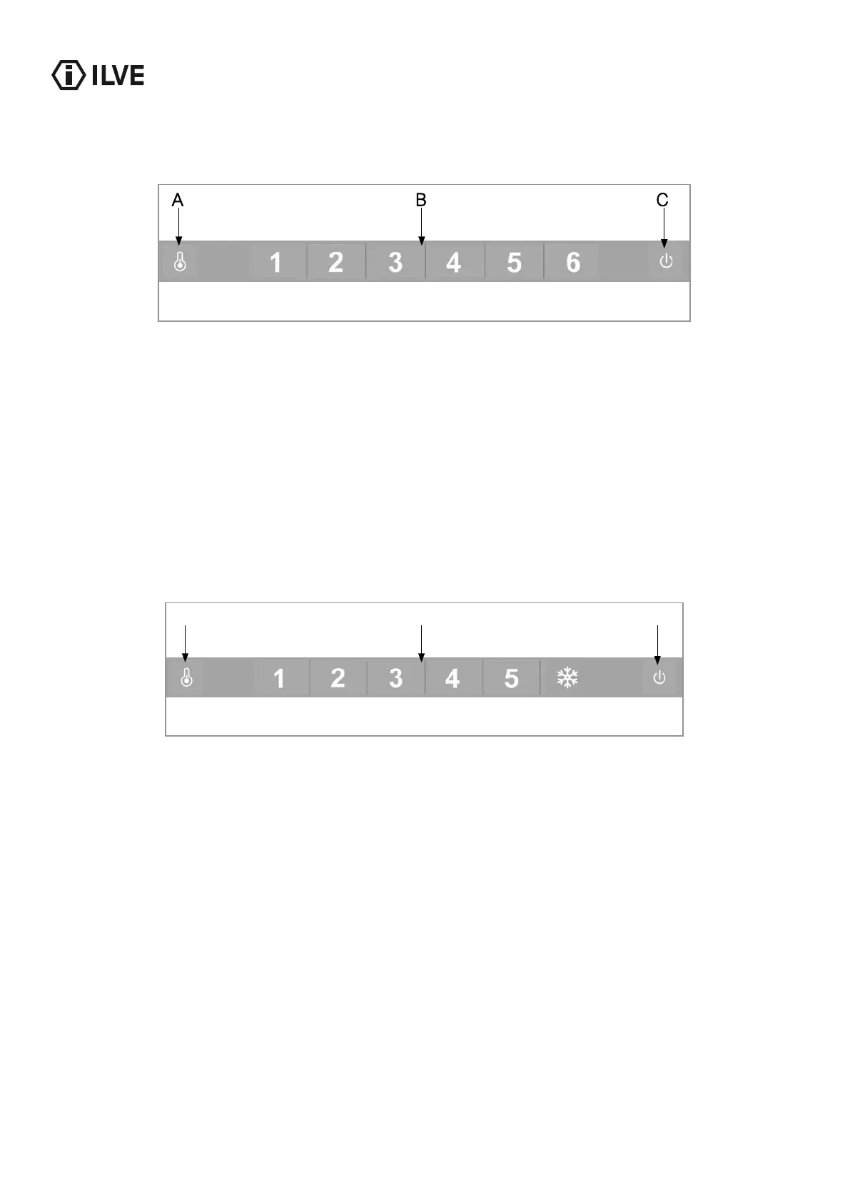
ILREF316I/2 COLUMN FRIDGE CONTROL PANEL
A. REFRIGERATOR TEMPERATURE ADJUSTMENT SENSOR
This button is used to adjust the temperature within the fridge. Press the sensor once to activate adjustment, and then as many
times as necessary until the desired level is selected. The settings range from 1 to 6 with 1 being the warmest and 6 the coldest.
B. REFRIGERATOR TEMPERATURE SETTING DISPLAY
Is display will eliminate the current temperature setting. I just in the temperature will cycle through this display. Please note you do
not use numbers 1 to 6 to change the temperature. Instead, use the refrigerator temperature adjustment sensor (A).
C. POWER BUTTON
Use this sensor to switch the appliance on or off (standby mode). The sensor will be lit when the appliance is off.
ILFRZ217I/2 COLUMN FREEZER CONTROL PANEL
A. FREEZER TEMPERATURE ADJUSTMENT SENSOR
This button is used to adjust the temperature within the freezer.Press this sensor once to activate adjustment, and then as many
times as necessary until the desired level is selected. The settings range from 1 to super freeze (snowake) with 1 being the
warmest and super freeze being the coldest. Please note: Where possible, avoid having the temperature setting on 5 or super
freeze (snowake) all of the time. This will help to alleviate strain on the compressor and system.
B. FREEZER TEMPERATURE SETTING DISPLAY
This display will illuminate the current temperature setting. Adjusting the temperature will cycle through this display.
Please note: You do not use numbers 1 to 5 or the snowake to change the temperature. Instead, use the freezer temperature
adjustment sensor (A).
C. POWER BUTTON
Use this sensor to switch the appliance on and off (standby mode).
ABC