EasyManua.ls Logo

impro XTT901 - Page 5

Default Icon
12 pages
Print Icon
To Next Page IconTo Next Page
To Next Page IconTo Next Page
To Previous Page IconTo Previous Page
To Previous Page IconTo Previous Page
Loading...
XTT301-0-0-GB-20
March 2019
Page 5
XTT906
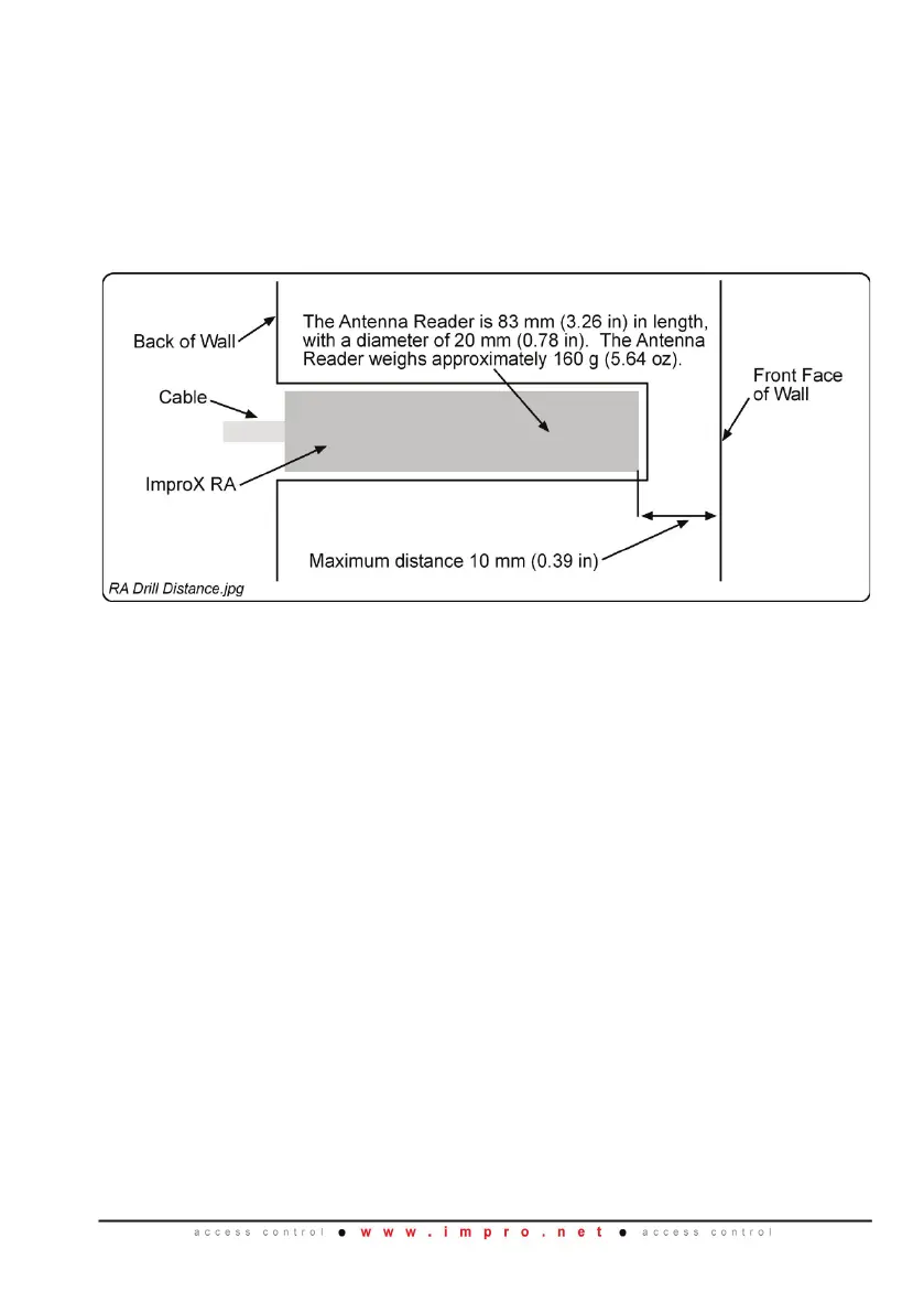
Secure the Impro RA in the mounting surface, using a suitable filling agent.
Figure 1: Mounting the Impro RA
XTT909
WARNING: DO NOT MOUNT THE IMPRO CA IN THE SAME ELECTRICAL
JUNCTION BOX AS THE MAINS ELECTRICAL SUPPLY.