EasyManua.ls Logo

Indesit IWE 71682 - Beskrivelse Af Vaskemaskinen; Betjeningspanel; Display

Indesit IWE 71682
84 pages
Print Icon
To Next Page IconTo Next Page
To Next Page IconTo Next Page
To Previous Page IconTo Previous Page
To Previous Page IconTo Previous Page
Loading...
30
DK
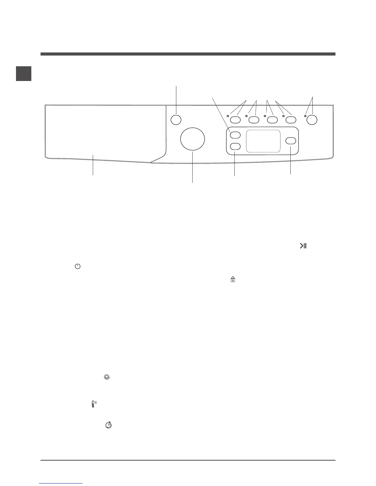
Skuffe til vaskemiddel Til ifyldning af vaskemiddel og
tilsætningsmidler (se “Vaskemiddel og vasketøj”).
Tast ON/OFF : Tryk kort på tasten for at tænde eller slu-
kke maskinen. Hvis kontrollampen START/PAUSE blinker
grønt langsomt, betyder det, at maskinen er tændt. For
at slukke for vaskemaskinen under vask skal man holde
tasten nede i længere tid, ca. 2 sek. Trykkes tasten ned i
for kort tid eller ved et uheld, slukker maskinen ikke. Hvis
maskinen slukkes under en igangværende vask, annulleres
selve vasken.
Knappen PROGRAMMER: Til indstilling af programmer.
Under programmet bevæges knappen ikke.
Taster med kontrollamper for valg af FUNKTION: Til valg
af de tilgængelige funktioner. Kontrollampen for den valgte
funktion vil være tændt.
Tast CENTRIFUGERING : Tryk på tasten for at redu-
cere hastigheden eller helt slå centrifugeringen fra. Værdien
vises på displayet.
Tast TEMPERATUR : Tryk på tasten for at mindske
temperaturen. Værdien vises på displayet.
Tast FORSINKET START : Tryk på denne tast for at
indstille en forsinket start af det valgte program. Forsinkel-
sen vises på displayet.
Tast med kontrollampe for START/PAUSE : Når den
grønne kontrollampe blinker langsomt, skal man trykke
på tasten for at starte vasken. Når vasken er startet, lyser
kontrollampen fast. For at sætte vasken på pause skal
man trykke på tasten igen. Kontrollampen blinker orange.
Hvis symbolet ikke lyser, kan man åbne lågen. For at
genstarte vasken fra det punkt, hvor den blev afbrudt, skal
man trykke på tasten igen.
Standby
Denne vaskemaskine stemmer overens med de nye
standarder for el-besparelse og er udstyret med et selvlu-
kkende system (standby), der slås til efter 30 minutter, hvis
vaskemaskinen ikke er i brug. Tryk kort på tasten ON/OFF,
og vent på, at maskinen genaktiveres.
Forbrug i off-mode: 0,5 W
Forbrug i Left-on: 0,5 W
Beskrivelse af vaskemaskinen
Tast med kontrollampe for
START/PAUSE
Betjeningspanel
Tast
CENTRIFUGERING
DISPLAY
Skuffe til vaskemiddel
Taster med
kontrollamper
for valg af
FUNTION
Knappen
PROGRAMMER
Tast
ON/OFF
Tast
FORSINKET START
Tast
TEMPERATUR

Table of Contents

Related product manuals