EasyManua.ls Logo

Indesit IWSD 71051 - Descripción de la Lavadora y Comienzo de un Programa; Panel de Control

Indesit IWSD 71051
72 pages
Print Icon
To Next Page IconTo Next Page
To Next Page IconTo Next Page
To Previous Page IconTo Previous Page
To Previous Page IconTo Previous Page
Loading...
54
ES
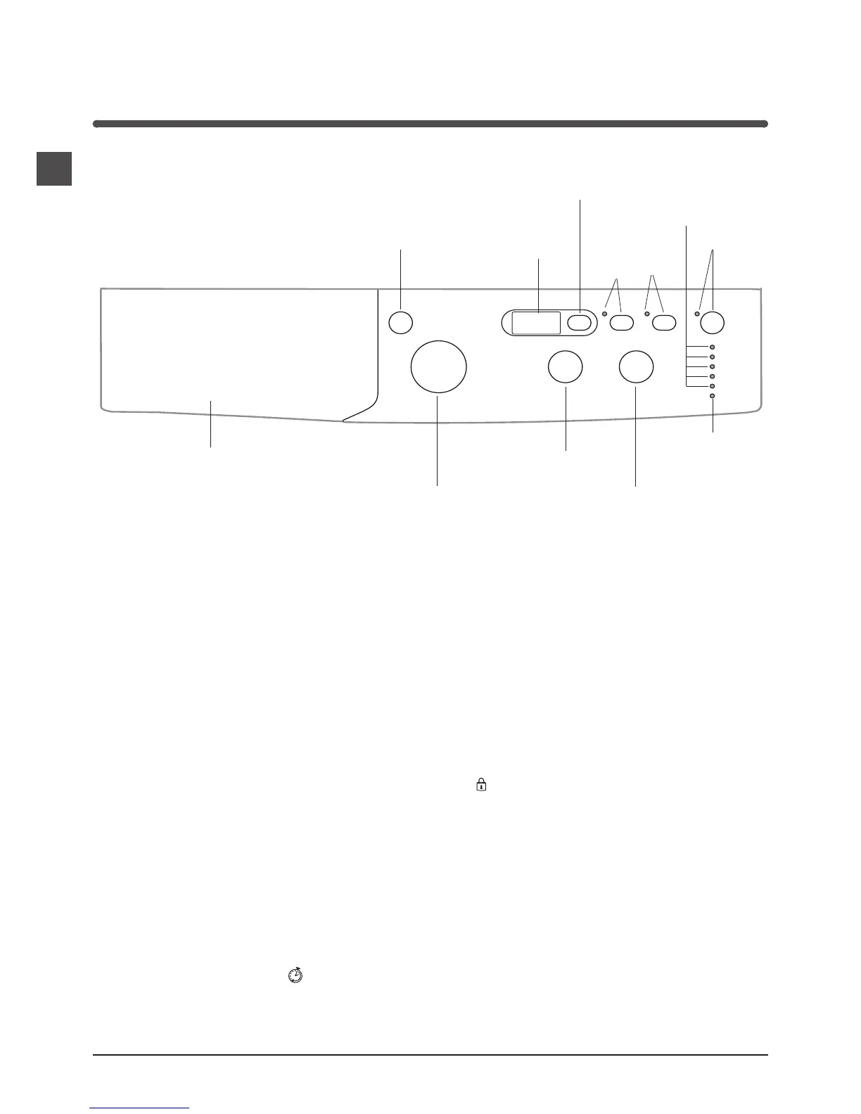
Contenedor de detergentes: para cargar detergentes
y aditivos (ver “Detergentes y ropa”).
Botón de ON/OFF: para encender y apagar la lavadora.
Mando de PROGRAMAS: para elegir los programas.
Durante el funcionamiento del programa el mando no se
mueve.
Botones con pilotos de FUNCIÓN: para seleccionar las
funciones disponibles. El piloto correspondiente a la fun-
ción seleccionada permanecerá encendido.
Mando de CENTRIFUGADO: para seleccionar el centrifu-
gado o excluirlo (ver “Personalizaciones”).
Mando de TEMPERATURA: para seleccionar la tempera-
tura o el lavado en frío (ver “Personalizaciones”).
PANTALLA: permite visualizar la duración de los distintos
programas a disposición y, para los que han comenza-
do, el tiempo que falta para su finalización; si se hubiera
seleccionado un COMIENZO RETRASADO, se visualiza el
tiempo que falta para que comience el programa seleccio-
nado.
Botón COMIENZO RETRASADO : presiónelo para
seleccionar el comienzo retrasado del programa elegido. El
retraso se indicará en la pantalla.
Pilotos DE AVANCE DEL CICLO: para seguir el estado
de avance del programa de lavado.
El piloto encendido indica la fase en curso.
Piloto PUERTA BLOQUEADA: para saber si la puerta se
puede abrir (ver la página correspondiente).
Botón con piloto START/PAUSE: se utiliza para poner en
marcha los programas o interrumpirlos momentáneamen-
te.
Nota: Presione este botón para poner en pausa el lavado
en curso, el piloto correspondiente centelleará con color
anaranjado mientras que el de la fase en curso permane-
cerá encendido en forma fija. Si el piloto PUERTA BLOQUE-
ADA está apagado, se podabrir la puerta (espere 3
minutos aproximadamente).
Para que el lavado se reanude a partir del momento en el
cual fue interrumpido, presione nuevamente este botón.
Modalidad de stand by
Esta lavadora está en conformidad con las nuevas norma-
tivas vinculadas al ahorro energético. Está dotada de un
sistema de auto-apagado (stand by) que, en caso de no
funcionamiento, se activa pasados aproximadamente 30
minutos. Presionar brevemente el botón ON/OFF y esperar
que la máquina se active.
Consumo en off-mode: 0,5 W
Consumo en Left-on: 8 W
Descripción de la lavadora y
comienzo de un programa
Piloto PUERTA
BLOQUEADA
Botón con
piloto START/
PAUSE
Panel de control
Contenedor de detergentes
Botón de ON/OFF
Mando de
PROGRAMAS
Botones con
pilotos
FUNCIÓN
Mando de
TEMPERATURA
Mando de
CENTRIFUGADO
Pilotos DE AVANCE
DEL CICLO
Botón
COMIENZO
RETRASADO
PANTALLA

Table of Contents

Related product manuals