EasyManua.ls Logo

Infiniton WM-73M - Error Code Troubleshooting; Door Lock and Drainage Faults

Infiniton WM-73M
Print Icon
To Next Page IconTo Next Page
To Next Page IconTo Next Page
To Previous Page IconTo Previous Page
To Previous Page IconTo Previous Page
Loading...
If the laundry is still too wet at the end of the cycle, remove some articles of
laundry and repeat the spin cycle.
Excessive foam formation may prevent spinning. Use the correct amount
of detergent.
Check that the spin speed selector has been set to “ ”.
27
Ensure that:
$OOFRQQHFWLRQVDUHWLJKWO\¿[HG
Do not allow children to operate, crawl on, be near or inside your washer.
Note that during the wash cycles, the surface temperature of the porthole
d o o r m a y increase.
Close supervision of children is necessary when the appliance is used near
children.
Error code
The appliance stops during the programme.
The error code will apper with some lights.
Check whether the door is closed or not and press the “start/pause” button;
if the fault persists, unplug the appliance and contact After-Sales Service
(see “After-Sales Service”).
means the light is on;
means the light is off .
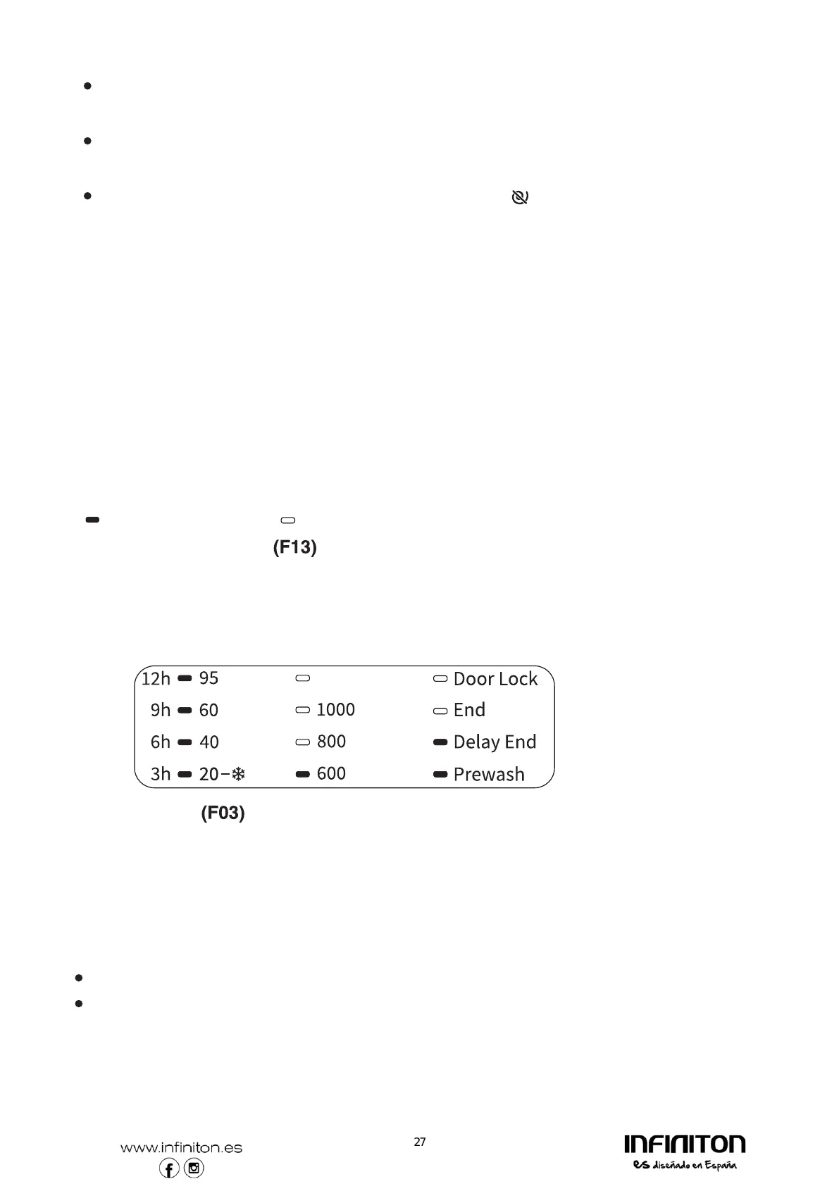
Door lock is abnormal : The indicator will light up.(fig.1)
Drainage fault
:(fig.2)
Waste water is not being pumped out.
The washing machine stops in the appropriate programme step.
Unplug the appliance.
Check whether:
Kinks are present in the drain hose;
The pump or the filter is blocked (see Removing the Filter”).
fig.1
IMPORTANT:
Ensure that
the water has cooled before drainning the appliance.
1200
27

Related product manuals