EasyManua.ls Logo

Inside Weather SOFA SECTIONAL - Page 2

Inside Weather SOFA SECTIONAL
15 pages
Print Icon
To Next Page IconTo Next Page
To Next Page IconTo Next Page
To Previous Page IconTo Previous Page
To Previous Page IconTo Previous Page
Loading...
Gather Your Eggs...
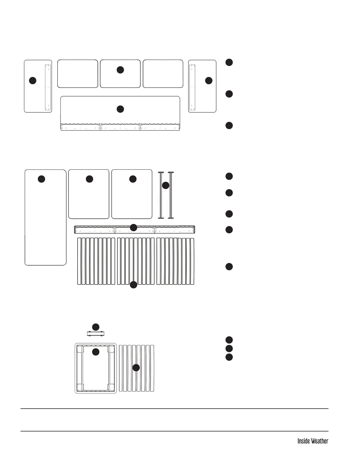
BACK PILLOWS
BACK PLATE
2 ARMS
CHAISE LOUNGE CUSHION
SEAT CUSHIONS
2 INNER SUPPORT BRACES
CONNECTION BRACKET
OTTOMAN BASE
8 SLATS
FRONT PLATE
27 SLATS
A
A
B
B
C
CC
D
E
D E E
F
F
G
G
H
H
I
J
J
K
K
Note: Please retain all boxes until you are certain that your product isn’t damaged and that you
do not wish to return it. Disposal of boxes may prevent/delay our ability to resolve your request.
I

Related product manuals