EasyManua.ls Logo

Insinger CA-3 - Page 37

Insinger CA-3
52 pages
Print Icon
To Next Page IconTo Next Page
To Next Page IconTo Next Page
To Previous Page IconTo Previous Page
To Previous Page IconTo Previous Page
Loading...
35
®
PART 6 PARTS & ASSEMBLIES
CA-3 & DA-3 Technical Manual 2018 www.insingermachine.com 800-344-4802
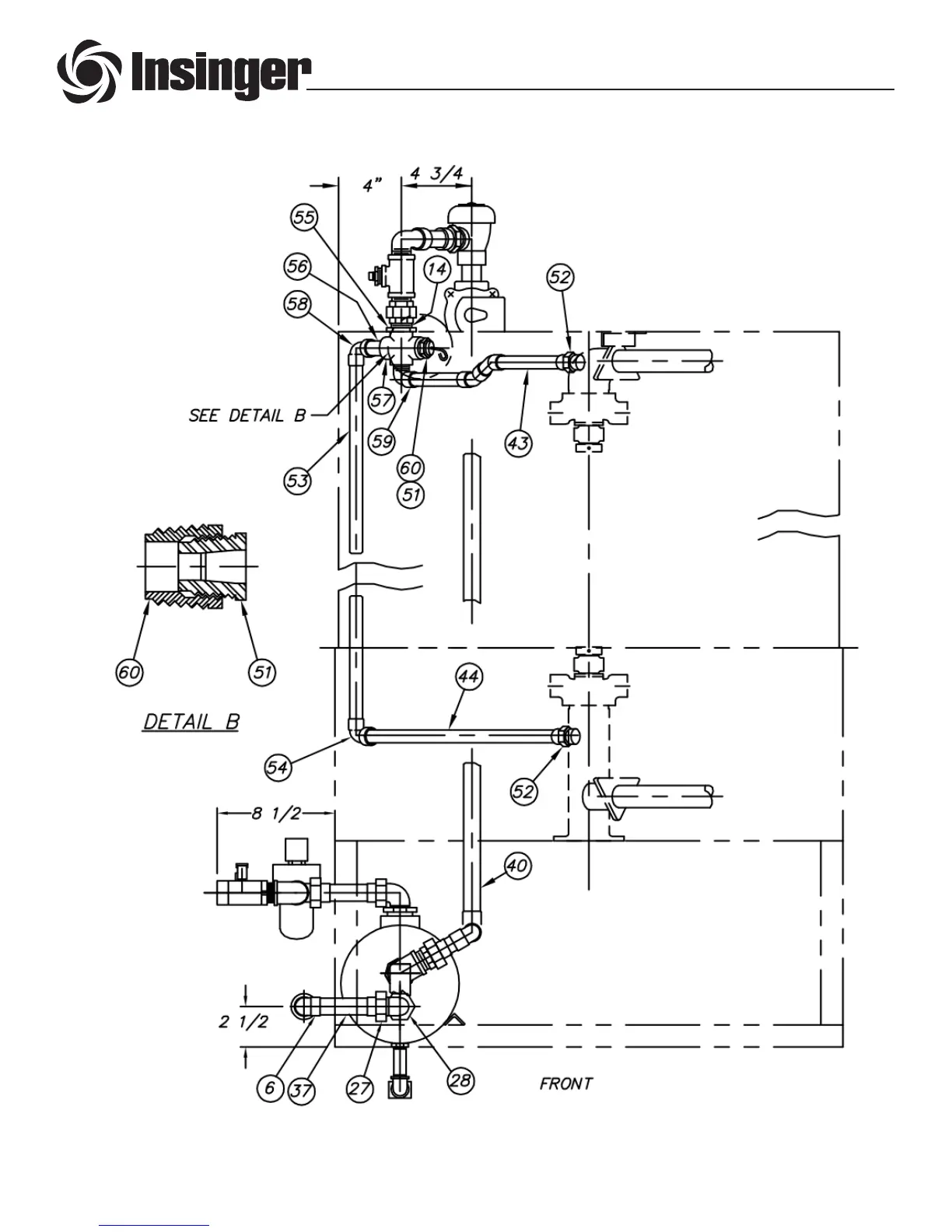
1172-84 : CA-3 Final Rinse Piping with I-3 Booster
REV D - 03/09/18

Other manuals for Insinger CA-3