EasyManua.ls Logo

Insinger CA-3 - Page 43

Insinger CA-3
52 pages
Print Icon
To Next Page IconTo Next Page
To Next Page IconTo Next Page
To Previous Page IconTo Previous Page
To Previous Page IconTo Previous Page
Loading...
41
®
PART 6 PARTS & ASSEMBLIES
CA-3 & DA-3 Technical Manual 2018 www.insingermachine.com 800-344-4802
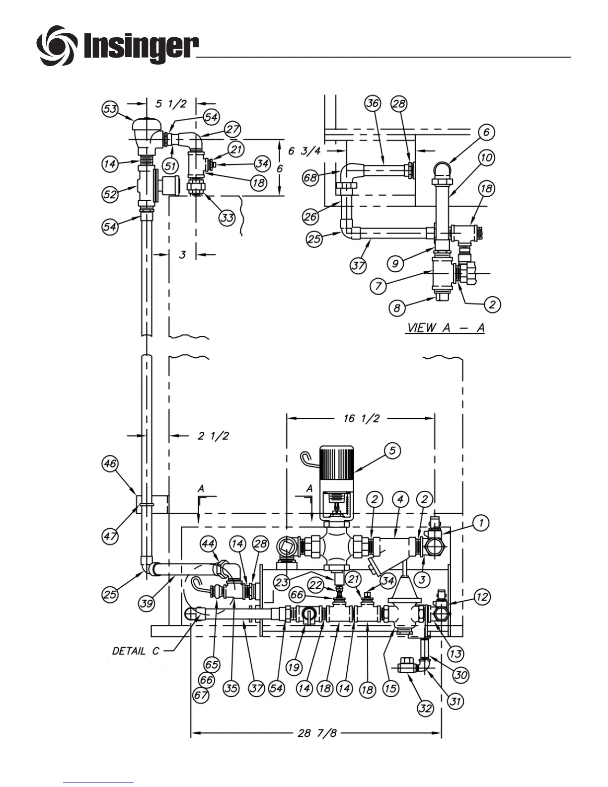
1173-31 : DA-3 Final Rinse Piping with Two I-3 Boosters
REV M - 03/09/18

Other manuals for Insinger CA-3