EasyManua.ls Logo

Intermatic RC Series - Page 3

Intermatic RC Series
4 pages
Print Icon
To Next Page IconTo Next Page
To Next Page IconTo Next Page
To Previous Page IconTo Previous Page
To Previous Page IconTo Previous Page
Loading...
OPERATION
Linking RC939 Transmitter Button with the RC613 Receiver
1. To clear any existing codes, press and hold the blue code set button on the receiver until the adjacent LED turns off
(up to 15 seconds), then release.
2. Now momentarily insert a paper clip in the hole on the bottom right side of remote to cause the red LED on the bottom
to light up. (NOTE: Illuminated LED may be difcult to see in direct sunlight.)
3. To link the receiver and transmitter, go back to the receiver and press & release the blue code set button.
4. Now choose the button on the remote that you want to operate the receiver and SLOWLY AND REPEATEDLY ”press
& release”.
5. After the 7th press, you should hear the relay in the receiver click.
6. Continue to SLOWLY press the same remote button (relay should click every 4th press now).
7. Repeat step 6 until you hear the relay click 3 or 4 times.
8. Press one of the other 2 buttons on the remote to save the code. The red LED on the transmitter will turn off.
Linking Multiple Transmitters with a Receiver
Up to three different transmitters can control a receiver. Follow steps 2 through 8 above for linking each RC939 transmitter
with the RC613 receiver.
Excluding a Transmitter Button Link from a Receiver
Follow this procedure to exclude a transmitter button from a receiver:
1. With a stylus or paper clip, press the button on the side of the transmitter until the red LED illuminates.
2. Momentarily press the congured ON/OFF button on the transmitter that you want to exclude from the receiver.
3. Momentarily press one of the other buttons on the transmitter. The red LED on the transmitter turns OFF.
4. Momentarily press the button you wanted to exclude to verify it no longer controls the receiver. The button
is now excluded.
3
LIST OF AVAILABLE MODELS AND COMPONENTS
Model Description Ratings (60 Hz)
RC613 Single-Channel Receiver 15 A Resistive, 10 A (1200 W) Tungsten, 1 HP (16 A FLA) @ 120 VAC, Single-Pole Single-
Throw Contacts
RC613L Single-Channel Receiver with
36 in. Lead
15 A Resistive, 10 A (1200 W) Tungsten, 1 HP (16 A FLA) @ 120 VAC, Single-Pole Single-
Throw Contacts
RC613R Heavy-Duty Single-Channel
Receiver and Relay Assembly
20 A Resistive - 120/240 VAC, 12.5 A (1500 W) Tungsten ,1 1/2 HP @ 120 VAC; 3 HP @
240 VAC, Double-Pole Single-Throw Contacts
RC939 3-Channel Transmitter Operates on 3 V, CR2032 Lithium Battery
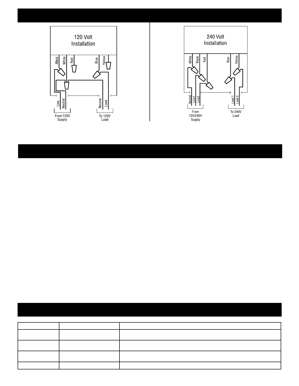
WIRING DIAGRAMS
NOTES:
1. NEUTRAL must always be connected to the WHITE LEAD.
2. Ground connections are not shown.

Related product manuals