EasyManua.ls Logo

IZZIWOTNOT Skyline - Push in Barrel Nut; Attach Aprons to Bed Ends

IZZIWOTNOT Skyline
11 pages
Print Icon
To Next Page IconTo Next Page
To Next Page IconTo Next Page
To Previous Page IconTo Previous Page
To Previous Page IconTo Previous Page
Loading...
Assembly
7
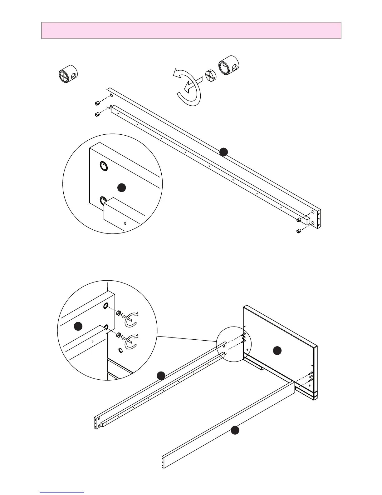
9. Push in barrel nut
10. Attach aprons to bed ends.
Remove grub screw
B x4
4
4
4
4
4
1a

Related product manuals