EasyManua.ls Logo

Jackery Explorer 1500 Pro - Page 16

Jackery Explorer 1500 Pro
44 pages
Print Icon
To Next Page IconTo Next Page
To Next Page IconTo Next Page
To Previous Page IconTo Previous Page
To Previous Page IconTo Previous Page
Loading...
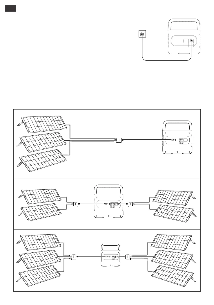
CHARGEMENT PAR LE BIAIS
DE L’ÉNERGIE SOLAIRE
Instructions sur l’opération de connexion des
panneaux solaires Jackery SolarSaga 60/100/200
Quand vous connectez un ou deux panneau(x) solaire(s), vous pouvez relier directement les ports
DC8020 entre celui d’un panneau solaire et celui de la source électrique externe Jackery Explorer
1500 Pro pour le chargement. Quand vous connectez trois ou quatre panneaux solaires, veuillez
effectuer le chargement par le biais d’un connecteur en série de panneaux solaires en vous référant
à la manière indiquée dans l’image ci-dessous. (Remarque : En cas de besoin, il faut encore payer un
connecteur en série de panneaux solaires car il nest pas inclus dans un lot standard, et veuillez vous
férer soigneusement aux instructions d’opération détaillées sur le connecteur en série de panneaux
solaires avant de l’utiliser.)
13
Explorer 1500 Pro
Chargeur CA
RECHARGE À PARTIR D'UNE PRISE MURALE
Veuillez utiliser le câble CA inclus dans l'emballage.
FR
SolarSaga ×3
Explorer 1500 Pro
SolarSaga×2
SolarSaga×2Explorer 1500 Pro
SolarSaga×3 SolarSaga ×3
Explorer 1500 Pro

Related product manuals