EasyManua.ls Logo

Jackery Explorer 1500 Pro - Charging Your Jackery Explorer 1500 Pro; AC Wall Charging; Solar Energy Charging Methods

Jackery Explorer 1500 Pro
44 pages
Print Icon
To Next Page IconTo Next Page
To Next Page IconTo Next Page
To Previous Page IconTo Previous Page
To Previous Page IconTo Previous Page
Loading...
05
Explorer 1500 ProAC Charger
CHARGING FROM THE WALL
Please use the AC cable included in the package.
GB
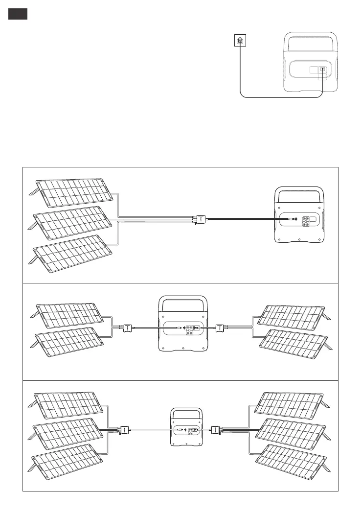
SOLAR ENERGY CHARGING
If one or two solar panels are connected, you can directly connect the DC8020 port of the solar
panel to the DC8020 port of Jackery Explorer 1500 Pro for charging. If three or four solar panels are
connected, please refer to the method shown in the following figure to charge through the solar
series connector (Note: The solar series connector is not in standard configuration, so you need to
purchase it separately. Please refer to the detailed operation instructions of the solar series connector
before using it.)
Jackery SolarSaga 200 or 100 or 60 Solar Panel Connection Guide
SolarSaga ×3
Explorer 1500 Pro
SolarSaga×2
SolarSaga×2Explorer 1500 Pro
SolarSaga×3 SolarSaga ×3
Explorer 1500 Pro

Related product manuals