EasyManua.ls Logo

Jacobsen AR331 - 38.1 Gear Pump

Jacobsen AR331
230 pages
Print Icon
To Next Page IconTo Next Page
To Next Page IconTo Next Page
To Previous Page IconTo Previous Page
To Previous Page IconTo Previous Page
Loading...
80
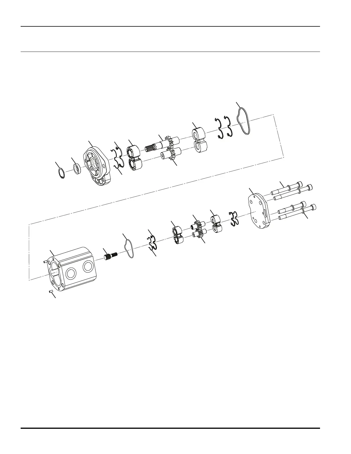
AR331
38.1 Gear Pump
Part Number 4177940
Serial No. All
19
18
2
16
6
10
7
11
17
1
23
22
14
15
20
21
4
8
9
5
3
12
13

Related product manuals