EasyManua.ls Logo

JETStream FXG2 Tornado Gun - Page 30

JETStream FXG2 Tornado Gun
38 pages
Print Icon
To Next Page IconTo Next Page
To Next Page IconTo Next Page
To Previous Page IconTo Previous Page
To Previous Page IconTo Previous Page
Loading...
30 PI-120 March 2020
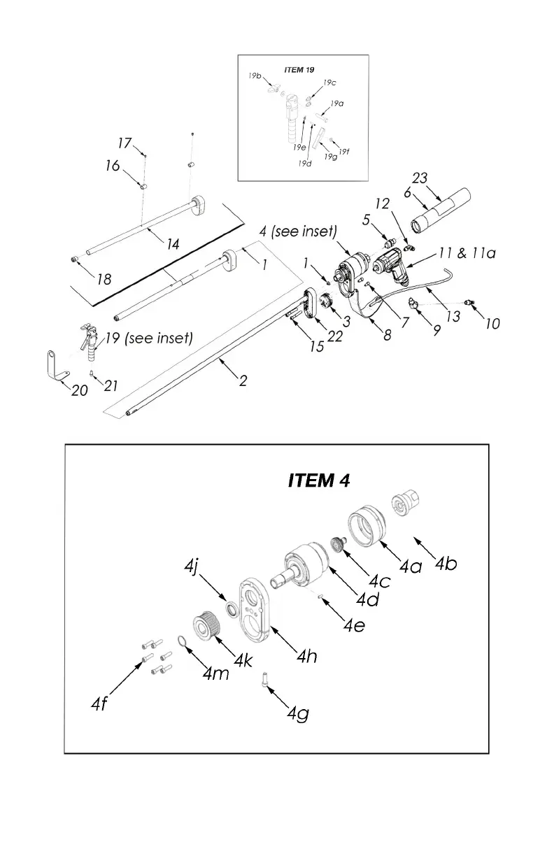
Appendix A
Exploded View
Figure B