EasyManua.ls Logo

JINYI SR881 - Page 41

JINYI SR881
48 pages
Print Icon
To Next Page IconTo Next Page
To Next Page IconTo Next Page
To Previous Page IconTo Previous Page
To Previous Page IconTo Previous Page
Loading...
SR881 operation instruction of solar pump station
- 40 -
needed, and it is installed on the solar return pipe, when solar pump R1 runs, the flow rate in
the system is monitored, and it keeps the system runs properly.
If relay R1 is powered, flow rate of flow sensor will be monitored. After 30 seconds, if no flow
rate is detected, then solar pump R1 is ceased, and error message will appear, and at the
same time sign blinks on the screen. It can avoid damaging system, for example,
avoiding pump dry running. Under the main display screen, press “+/-, you can view the
flow rate value. When error appears, press “+/-to check the flow rate value, you can press
SET” button for 3 seconds to switch-off FS function, and after the fault is removed, then
monitoring function is activated again.
Flow monitoring function is designed to detect whether flow exists in the solar system and
therefore to switch-off the corresponding pump in case of no flow,
If OFF” option of the flow monitoring function is activated, and then the loaded tank is
stopped to be heated until error message is removed, then monitoring function is activated
again.
Note: reasons of no flow in the solar system:
No flow due to pipe leakage in system
Circuit pump is damaged.
Digital flow counter is blocked or damaged.
Under this menu, it is possible to activate or deactivate the flow monitoring function.
If flow monitoring function is activated, flow sign displays on the screen, and under the
checking status, current flow can be checked L/M
Note: digital flow counter FRT is not listed in the standard delivery, user should buy it
separately (see item 12 Accessories).
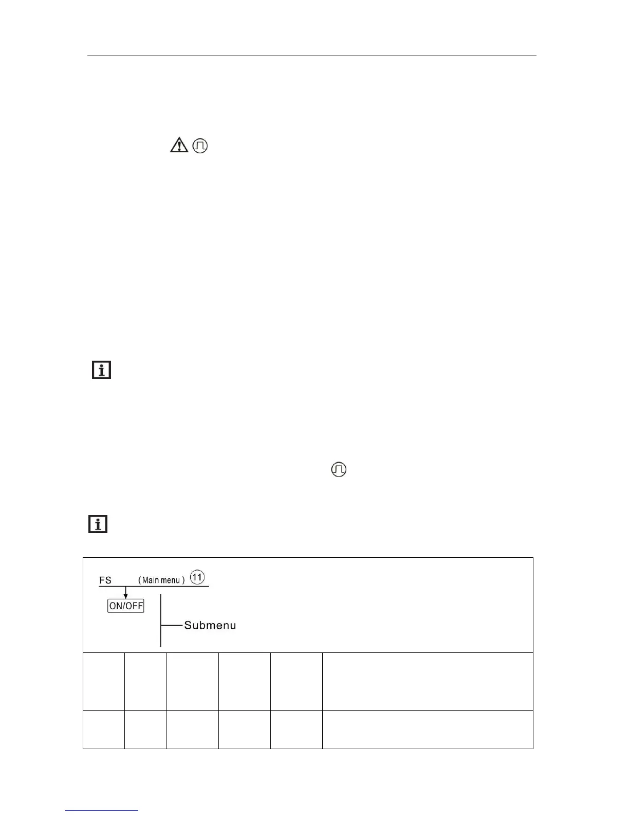
Menu Structure
Main
menu
Sub
menu
Factory
set
Adjust
able
range
Step
per
adjust
Description
FS
OFF
OFF
OFF /
ON
Flow monitoring function

Table of Contents