EasyManua.ls Logo

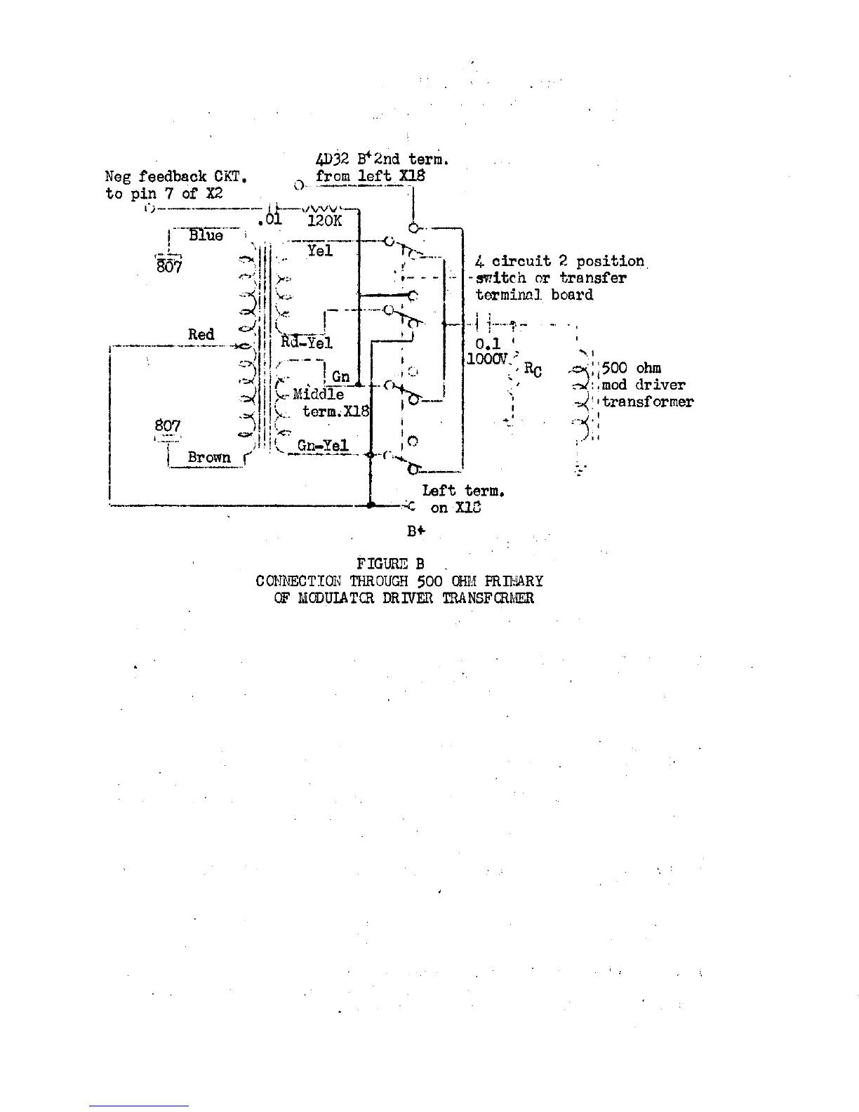
Johnson Viking I - Connection through 500 Ohm Primary of Modulator Driver Transformer

Johnson Viking I
49 pages
Print Icon
To Next Page IconTo Next Page
To Next Page IconTo Next Page
To Previous Page IconTo Previous Page
To Previous Page IconTo Previous Page
Loading...

Related product manuals