EasyManua.ls Logo

JRC GPS124 - Parts and Functions

JRC GPS124
12 pages
Print Icon
To Next Page IconTo Next Page
To Next Page IconTo Next Page
To Previous Page IconTo Previous Page
To Previous Page IconTo Previous Page
Loading...
- 3 -
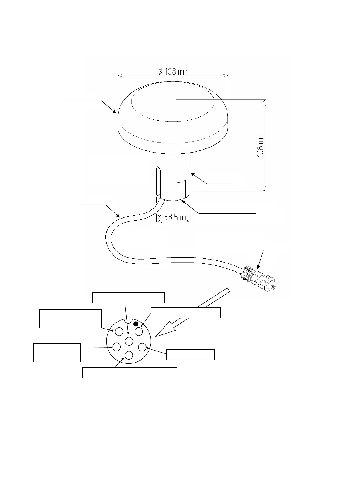
SECTION 2 PARTS AND FUNCTIONS
MASS:less than 0.7kg
CABLE LENGTH: 10m
(
33ft
)
MOUNTING SCREW
1INCH 14 UNS-2B
DGPS Input (Brown)
0V
DC
(Black)
Data Common (White, Blue)
Data Output
(Green)
Set Data Input
(Yellow)
12V
DC
/ 24V
DC
(Red)
RECEIVER: Receives GPS signals from up to twelve satellites and provides highly accurate position
fixing.
CABLE: Supplies DC power for the antenna and inputs/outputs data to a navigation equipment.
8-wire cable
BASE: Mount unit which conforms to 1"×14 NPT standards. With this, the Receiver can
be installed onto a 1-inch antenna mount or extension mast.
CONNECTOR: Hooks up the receiver to a navigation equipment. 6-pin
Fig. 2-2 connecter
RECEIVER
CABLE
CONNECTOR
BASE
Fig. 2-1 Parts of GPS124