EasyManua.ls Logo

JUNO JCN44181 - Page 25

JUNO JCN44181
32 pages
Print Icon
To Next Page IconTo Next Page
To Next Page IconTo Next Page
To Previous Page IconTo Previous Page
To Previous Page IconTo Previous Page
Loading...
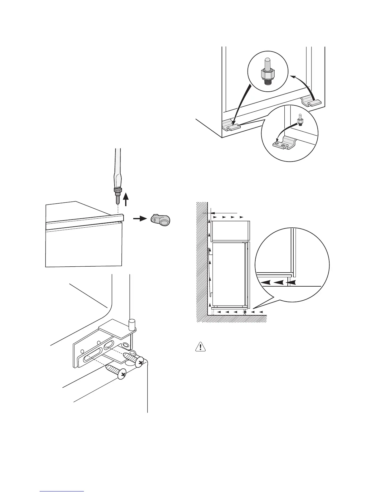
Wechsel des Türanschlags
Die Tür des Geräts geht nach rechts auf.
Wenn Sie möchten, dass die Tür nach links
aufgeht, befolgen Sie bitte diese Schritte, be-
vor Sie das Gerät einbauen:
1. Lösen und entfernen Sie den oberen Bol-
zen.
2. Entfernen Sie die obere Tür.
3. Nehmen Sie das Distanzstück ab.
4. Lösen Sie das mittlere Scharnier.
5. Entfernen Sie die untere Tür.
6. Lösen und entfernen Sie den unteren Bol-
zen.
Auf der gegenüberliegenden Seite:
1. Ziehen Sie den unteren Bolzen fest.
2. Installieren Sie die untere Tür.
3. Ziehen Sie das mittlere Scharnier fest.
4. Setzen Sie das Distanzstück ein.
5. Installieren Sie die obere Tür.
6. Ziehen Sie den oberen Bolzen fest.
Anforderungen an die Belüftung
Die Luftzirkulation hinter dem Gerät muss
ausreichend groß sein.
min.
200 cm
2
min.
200 cm
2
Installation des Geräts
Vorsicht! Vergewissern Sie sich, dass
sich das Netzkabel des Gerätes frei
bewegen kann.
Führen Sie diese Schritte durch.
1. Bringen Sie den Dichtungsstreifen wie in
der Abbildung gezeigt am Gerät an.
electrolux 25

Related product manuals