EasyManua.ls Logo

JVC CA-MXJ50 - Auto Edit Recording

JVC CA-MXJ50
32 pages
Print Icon
To Next Page IconTo Next Page
To Next Page IconTo Next Page
To Previous Page IconTo Previous Page
To Previous Page IconTo Previous Page
Loading...
– 21 –
Auto Edit Recording
By using Auto Edit Recording, you can record the CD tracks
to fit the tape. Auto Edit Recording makes a program by
selecting the CD tracks in numerical order. However, to
prevent the end of the last track on the front side from being
cut off, the last track is selected so as to fit on the remaining
tape length.
On the unit ONLY:
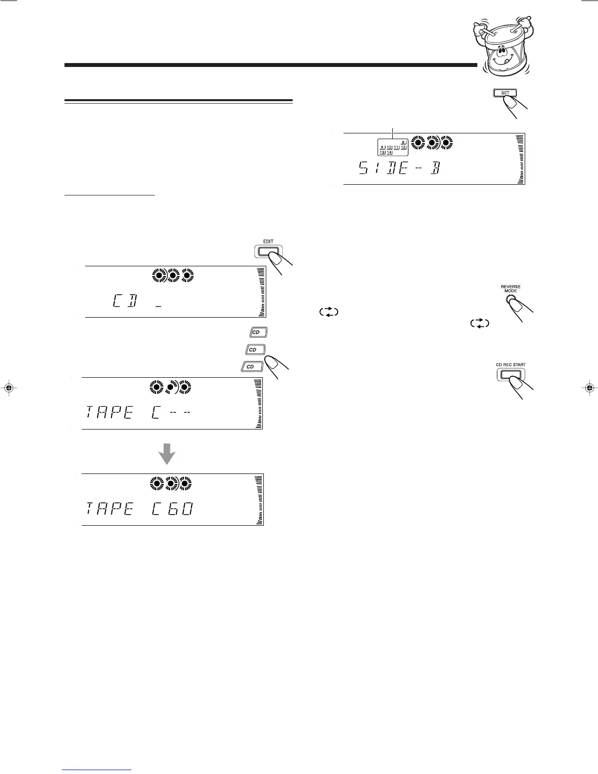
1
Load CDs.
If the current playing source is not the CD player, press
CD £¥8, then 7 before going to the next step.
2
Press EDIT.
3
Press the disc number button
(CD1 to CD3) for the disc you
want to record from.
To change the tape length manually
If the tape length selected is not satisfactory, you can
change the tape length by pressing 4 or ¢.
You can select the tape length among the following — 40,
46, 50, 54, 60, 64, 70, 74, 80, 84, and 90.
Tracks to be recorded on the
reverse side (SIDE-B) appear.
4
Press SET.
Each time you press the button, the tracks to be recorded
on the front side (SIDE-A) and on the reverse side
(SIDE-B) alternate.
5
Put a recordable cassette of appropriate
length into deck B.
6
Press REVERSE MODE so that the
Reverse Mode indicator lights up as
.
Without turning on the Reverse Mode ( ),
recording will stop when the front side of the tape is
recorded.
7
Press CD REC START.
The REC (recording) indicator lights up on the
display.
Deck B starts recording then, about 10 seconds
later, the CD player starts playing.
When the recording is done, “CD REC FINISHED”
appears on the display, and the CD player and deck B
stop.
If a tape has not been rewound, deck B will rewind the
tape before it starts recording.
A 10-second blank portion is automatically created at
the beginning of each side of the tape.
To stop during Auto Edit Recording
Press 7 or REC START/STOP so that a 4-second blank
portion is created on the recorded tape. (Remember a 4-
second blank is important when using Music Scan — see
page 18.)
To cancel Auto Edit Recording
Press CANCEL before or after play.
Pressing one of the following buttons will also cancel Auto
Edit Recording — 7, REC START/STOP, and
PROGRAM/RANDOM.
1
2
3
The optimum tape length for the disc appears.
1 2 3
1 2 3
1 2 3
1 2 3
EN19-28.MXJ500,etc[B]/f 00.1.12, 11:42 PM21

Related product manuals