EasyManua.ls Logo

JVC CA-MXJ970V - Playing Back Video CDs and SVCDs; Menu Playback with PBC

JVC CA-MXJ970V
37 pages
Print Icon
To Next Page IconTo Next Page
To Next Page IconTo Next Page
To Previous Page IconTo Previous Page
To Previous Page IconTo Previous Page
Loading...
– 17 –
English
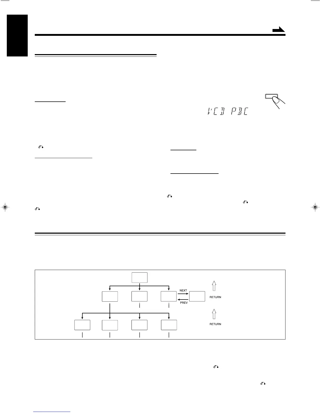
Basic Concept of the PBC function
PBC (Playback Control) allows you to enjoy menu -driven operation and high resolution still images having a resolution four
times greater than video pictures.
TV Screen
Main menu
1. ......
2. ......
3. ......
1. Sub menu
1. ...... 4. ......
2. ......
3. ......
2. Still Picture
Playback
3. Sub menu
1. ......
2. ......
3. ......
3. Sub menu
4. ......
5. ......
6. ......
1. Sub-sub menu
1. ......
2. ......
3. ......
2. Still Picture
Playback
3. Moving
Pictures
4. Moving
Pictures
Concept of PBC Flow
5
Select the item you want to view.
On the unit:
Press VCD NUMBER + to select larger item numbers, or
press VCD NUMBER – to select smaller item number. Then
press CD £¥8, to start the disc.
On the remote control:
Press the number buttons to select and play the item you
want.
To stop the track being played and return to the menu, press
7 button.
To stop Menu Play, press and hold 7 , for more than 2
seconds. A blue screen appears on the TV.
NOTE:
You can only select PBC in CD STOP position.
High -resolution still image display
You can display high-quality images four times clearer than
video pictures.
Menu-driven playback
You can interact with the screen using a menu display to select
and play an entry.
Basic flow of Menu Play Operation
A selection menu is shown when you start playing a video CD
with PBC. The menu shows a list of items to select. Some discs
may show moving pictures or a divided screen.
When a list of items appears, you can select the number of
the item you want to play back.
When moving pictures appear, you can select a moving picture
by pressing 1 / 4 / ¢ / ¡ or number buttons while
the moving picture you want to view is being played back.
When the menu appears after the item you have selected
finishes playing, you can select another item that you want to
view next.
After playback, press 7 , to go back to the previous screen.
Each time you press the button, you will go back by one
screen.
If you want to stop Menu Play, press and hold 7 , for more
than 2 seconds. Some discs may return you to the menu screen
shown before playback.
Playing Video CDs/SVCDs with PBC Function- Menu Play
This System provides Playback Control (PBC) which utilizes a
procedure (menu selection) programmed in a video CD. The
playback operation procedure may differ depending on the disc
you use.
For Menu Play, use the following buttons:
On the unit:
NEXT (¢ ) ................. for viewing the unshown portion of
the menu
PREV (4 ) ................. for viewing the previously shown
portion of the menu
VCD NUMBER +, – ...... for selecting an item
SELECT (CD £¥8) ..... for starting playback of the selected
item
7 .................................. for going back to the previous menu
On the remote control:
NEXT
.................. for viewing the unshown portion of the
menu
PREV
................ for viewing the previously shown
portion of the menu
NUMBER BUTTONS ...
for selecting and starting playback of an
item
SELECT (CD £¥8) ..... for starting playback of the selected
item
7 ............................... for going back to the previous menu
Continued
1
Turn on the TV and select the video input so that
you can view the pictures from the CD Player.
Refer to the manual supplied for your TV.
2
Prepare a CD.
Refer to “Loading CDs” on page 16.
3
Press PBC on the unit .
Allow several seconds for the disc's table of
contents (TOC) to be read before pressing PBC.
“VCD PBC” appears on the display.
4
Start playback of the CD.
Press CD £¥8, to start play of the currently selected CD,
or press CD 1-3, to select the disc and start play.
¢
¡
( )
4
1
( )
PBC
EN13-20.MX-J970[U] 16/06/2000, 11:18 AM17

Table of Contents

Related product manuals