EasyManua.ls Logo

JVC CA-MXS6MD - ERASE Function

JVC CA-MXS6MD
74 pages
Print Icon
To Next Page IconTo Next Page
To Next Page IconTo Next Page
To Previous Page IconTo Previous Page
To Previous Page IconTo Previous Page
Loading...
– 43 –
3
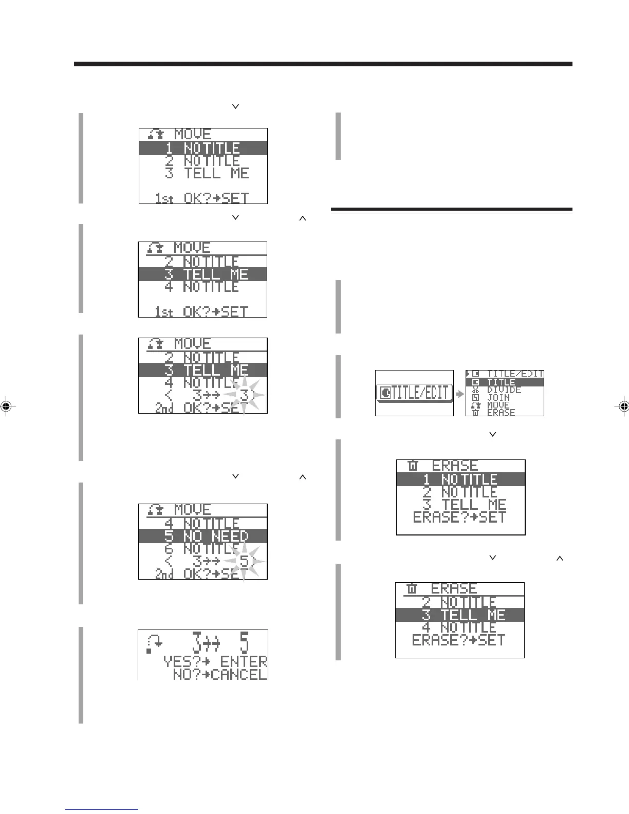
Push the joy control downward ( ) to select
“MOVE” (highlighted), then press SET.
4
Push the joy control downward ( ) or upward ( )
to select the track you want to move.
5
Press SET.
If you have selected a wrong track number, press
CANCEL, then select the correct track number.
6
Push the joy control downward ( ) or upward ( )
to select the position where you want to move the
track to.
7
Press SET.
If you have selected wrong tracks, press CANCEL,
then select the correct tracks by repeating from step
4
.
Ex. When you want to move track 3
Ex. When you want to move to
the track 5 position
8
Press ENTER/DEMO to finish the editing
procedure.
“EDITING” appears for a while, then “WRITING”
flashes while the editing you have made is being
recorded on the MD.
ERASE Function
This function allows you to erase unwanted tracks.
To stop any time during editing process, press TITLE/
EDIT.
1
Insert an MD you want to edit into the MD loading
slot.
It takes about 5 seconds for the unit to read the TOC
(Table Of Contents) of the inserted MD. While the
unit is reading it, you cannot go to the next step.
2
Press TITLE/EDIT.
The source is changed to “MD.
3
Push the joy control downward ( ) to select
“ERASE” (highlighted), then press SET.
4
Push the joy control downward ( ) or upward ( )
to select the track you want to erase.
EN39-44.CA-MXS6MD[UJ]/f 00.11.6, 0:47 PM43

Table of Contents

Related product manuals