EasyManua.ls Logo

JVC CA-MXS6MD - Sleep Timer Function

JVC CA-MXS6MD
74 pages
Print Icon
To Next Page IconTo Next Page
To Next Page IconTo Next Page
To Previous Page IconTo Previous Page
To Previous Page IconTo Previous Page
Loading...
– 53 –
On the unit ONLY:
1
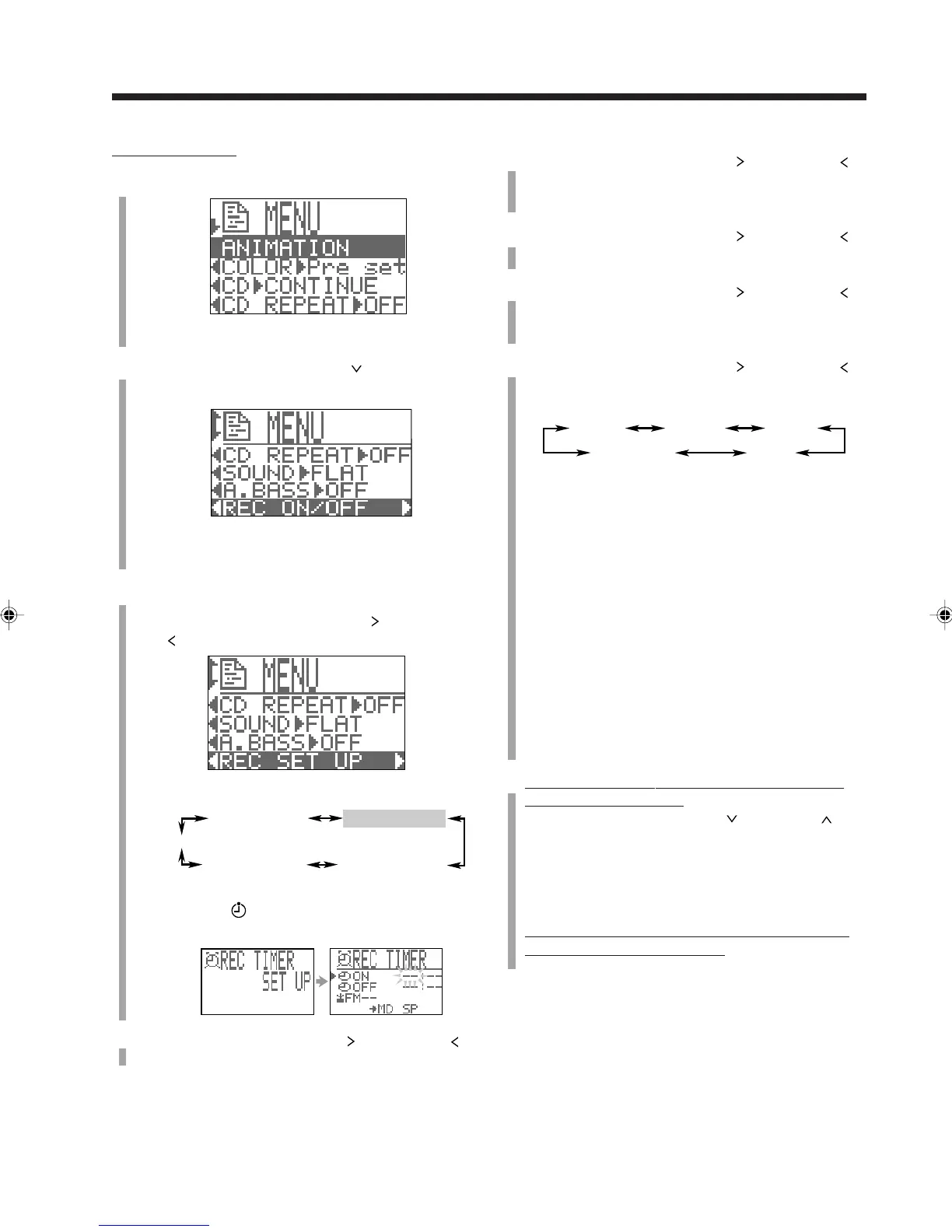
Press MENU.
2
Push the joy control downward ( ) to select “REC
ON/OFF” (highlighted).
• If you cannot select “REC ON/OFF,” you have not
finished setting the built-in clock. (See page 52.)
3
Call up the Recording Timer Setup screen.
1) Push the joy control rightward ( ) or leftward
(
) to select “REC SET UP.
The items on the menu change as follows:
2) Press SET.
The timer (
) and REC indicators start flashing
on the display.
4
Push the joy control rightward ( ) or leftward ( )
to set the hour of the timer-on time, then press SET.
Ex. When the unit is turned on, and the source
is CD (but not playing)
5
Push the joy control rightward ( ) or leftward ( )
to set the minute of the timer-on time, then press
SET.
6
Push the joy control rightward ( ) or leftward ( )
to set the hour of the timer-off time, then press SET.
7
Push the joy control rightward ( ) or leftward ( )
to set the minute of the timer-off time, then press
SET.
8
Push the joy control rightward ( ) or leftward ( )
to select the source.
The source changes as follows:
FM – –: Tunes into an FM station.
= Select a preset station (see below).
AM – –: Tunes into an AM station.
= Select a preset station (see below).
LINE1*: Selects the external equipment
connected to the LINE 1 jacks.
LINE2*: Selects the external equipment
connected to the LINE 2 jack.
DIGITAL IN*: Selects the external equipment
connected to the DIGITAL IN
terminal.
* To operate these equipment with the Recording
Timer, they also need to have the timer function.
If you have changed the source name, the changed
name will appear.
9
If you have selected “FM – –” or AM – –” as the
source in the above step, select a preset number.
Push the joy control downward (
) or upward ( ) to
select a preset station, then press SET.
If you press SET without selecting a preset station,
the last received station will be tuned in when the
timer recording starts.
If you have selected one of the external equipment
as the source in the above step, simply press SET.
REC ON/OFF REC SET UP
DAILY ON/OFF
CLOCK SET
DAILY SET UP
FM – – AM – –
LINE2
LINE1
DIGITAL IN
EN51-57.CA-MXS6MD[UJ]/f 00.11.6, 0:49 PM53

Table of Contents

Related product manuals