EasyManua.ls Logo

JVC HX-Z1R - Page 37

JVC HX-Z1R
85 pages
Print Icon
To Next Page IconTo Next Page
To Next Page IconTo Next Page
To Previous Page IconTo Previous Page
To Previous Page IconTo Previous Page
Loading...
1-37
HX-Z1R
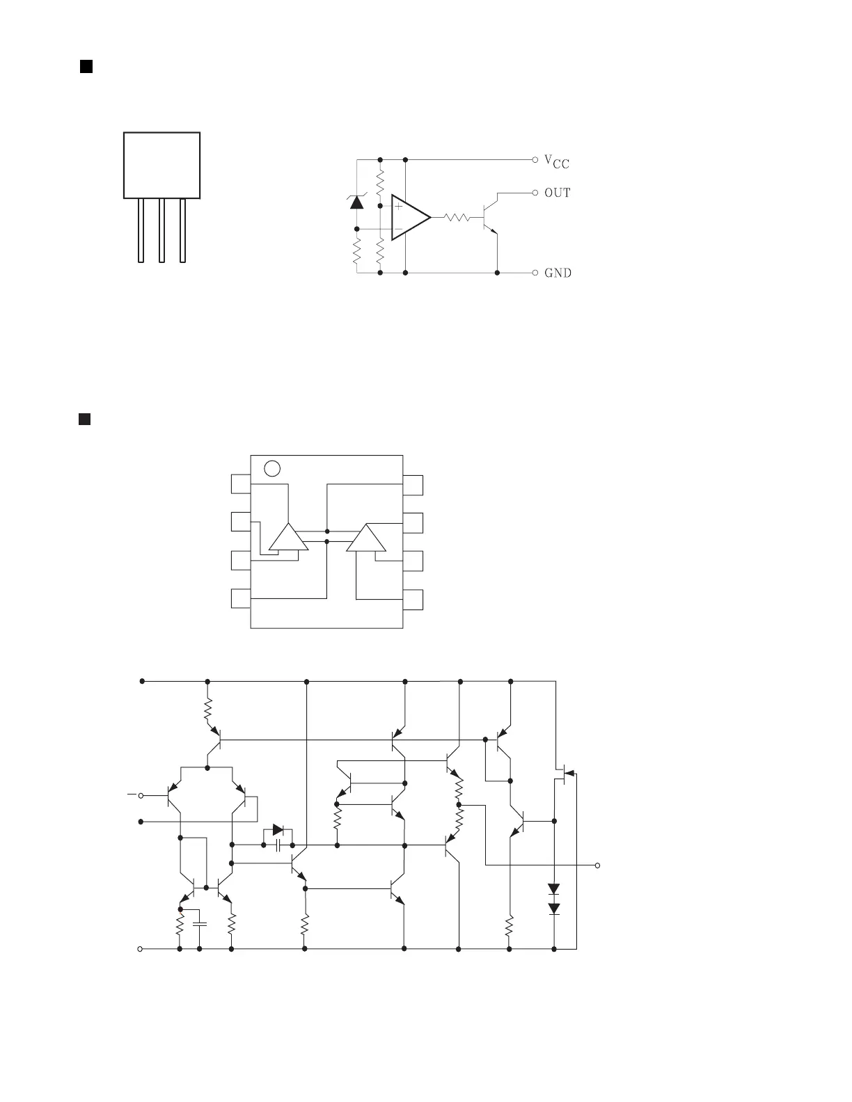
KIA7042AP-T (IC830) : Regulator
1. Pin layout
1 2 3
1.VCC
2.GND
3.OUT
2. Block diagram
V
+
INPUT
+
V
-
OUTPUT
A OUT
A -IN
A +IN
V
-
1
2
3
4
A
B
(TOP VIEW)
8
7
6
5
V
+
B -IN
B +IN
B OUT
1. Pin layout
2. Block diagram
NJM4580D (IC501, IC502, IC571) : LPF, Mic and H.phone amp.
www.freeservicemanuals.info
3/29/2018
Digitized in Heiloo Netherlands

Related product manuals