EasyManua.ls Logo

JVC KD-AVX2 - Page 311

JVC KD-AVX2
476 pages
Print Icon
To Next Page IconTo Next Page
To Next Page IconTo Next Page
To Previous Page IconTo Previous Page
To Previous Page IconTo Previous Page
Loading...
19
ENGLISH
To locate a particular title/
group/folder
Within 10 seconds,
press the number
buttons (see page 9).
IMPORTANT:
For MP3/WMA/WAV discs: It is required
that folders are assigned with 2-digit number
at the beginning of their folder names—01,
02, 03, and so on.
To adjust the screen shape on the unit
See “Aspect” on page 33 for the detail.
A
ASPECT
MPEG
MPEG
Audio
DVD
ASPECT
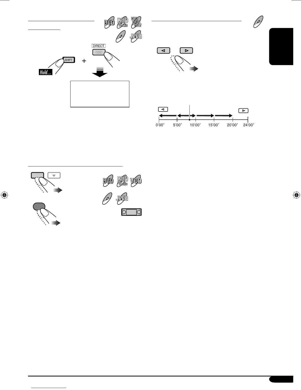
To skip to the next or previous scene
You can skip the scene back and forward
by 5 minutes.
Ex.: when you are playing a 24-minute MPEG
file and the elapsed playing time is 8’24”...
The first pressing of the buttons skips the
scene to the nearest multiple-of-5 playing time
(except current playing time).
This function does not work when remaining
time to skip forward or back is under 5
minutes.
MPEG
MPEG
Current playback position
WA
V
MP3
WMA
Audio
DVD
JPEG
JPEG
MPEG
MPEG
AVX2[U]EN.indb 19AVX2[U]EN.indb 19 06.2.8 2:05:17 PM06.2.8 2:05:17 PM

Table of Contents