EasyManua.ls Logo

JVC SP-R100 - Speaker Assembly Parts List

JVC SP-R100
14 pages
To Next Page IconTo Next Page
To Next Page IconTo Next Page
To Previous Page IconTo Previous Page
To Previous Page IconTo Previous Page
Loading...
SP-X100/SP-CR100
SP-R100
3-3
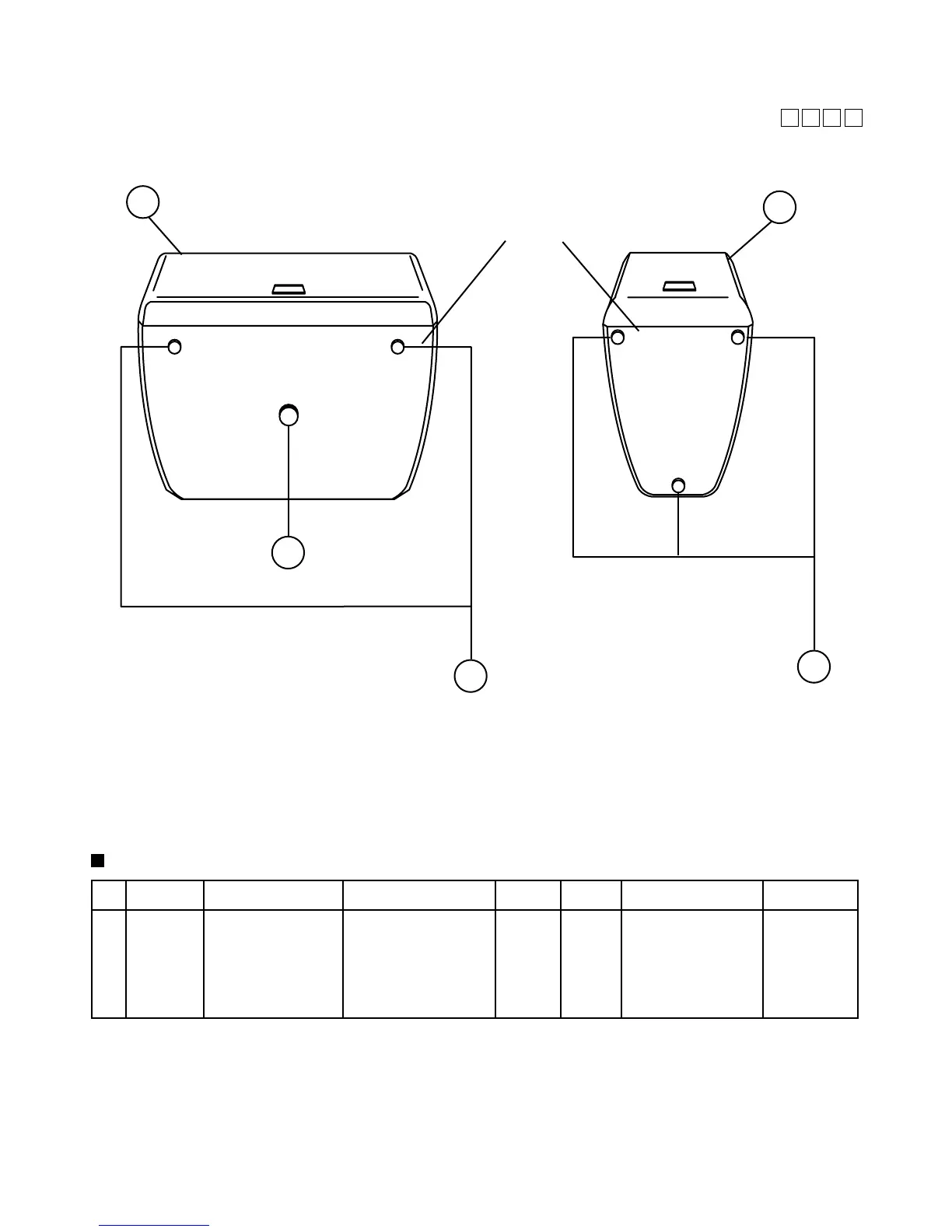
Speaker assembly and accessories parts list
Block No. M1MM
Speaker bottom
4
1
2
5
3
A
Parts list (Speaker assembly)
Block No. M1MM
Symbol
1
2
3
4
5
Parts number
SP-XC100K
SP-XS100K
90-000-053-21
90-000-053-11
90-000-053-11
Parts name
Speaker system
Speaker system
Foot
Foot
Foot
Value Q'ty
1
4
1
2
3
Description
With foot
With foot
Color
Attention
SP-XC100 SP-XS100
The speaker box of this model is a unit supply.
Therefore, we do not supply it as individual parts.

Related product manuals