EasyManua.ls Logo

Kawai CA59 - Send Program Change Number

Kawai CA59
10 pages
Print Icon
To Next Page IconTo Next Page
To Next Page IconTo Next Page
To Previous Page IconTo Previous Page
To Previous Page IconTo Previous Page
Loading...
CA59 MIDI Settings Manual
4
MIDI Settings
2
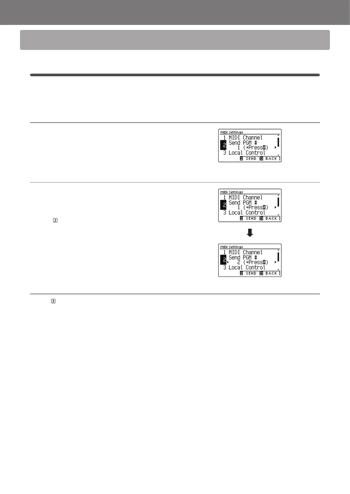
Send Program Change Number
The Send Program Change Number function is used to send a Program Change Number (1-128) to the connected
MIDI device.
1. Selecting the Send Program Change Number function
After entering the MIDI Settings menu (page 2):
Press the
or
buttons to select the Send Program Change
Number function.
2. Specifying and transmitting a Program Change Number
Press the
or
buttons to decrease or increase the Program
Change Number.
* The program change number can be set within the range of 1~128.
Press the FUNCTION button (SEND) to send the specied
Program Change Number.
3. Exiting the Send Program Change Number function
Press the FUNCTION button (BACK) to exit the Send Program
Change Number function and return to the Function Menus
screen.

Related product manuals