EasyManua.ls Logo

Keithley 237 - Page 152

Keithley 237
314 pages
Print Icon
To Next Page IconTo Next Page
To Next Page IconTo Next Page
To Previous Page IconTo Previous Page
To Previous Page IconTo Previous Page
Loading...
SECTION2
Operation
~------
Model236/237/238
+
1=10mA
Ou~utHI
~
t--------'---Q--1
~
Compliance Limit = 1
OmA
Output LO
Source V Measure I
.....
------1
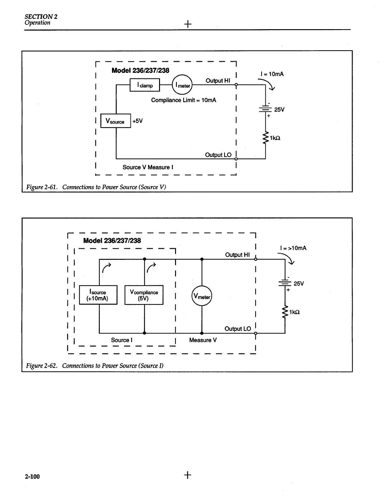
Figure
2-61.
Connections
to
Power
Source
(Source
V)
r
-
--
- - - -
-
-
--
-
-
-
-
I
Model 236/237/238
I
1-
-
----
- -
I
I
I=
>10mA
I
Output HI
1
=i\,
I
r
r
I
I
I
I
I
I
I
-
I
I
__
25V
I
I
source
Vcompliance
I
+
I
(+10mA)
(5V)
I
Vmeter
I
I
I
I
~1kll
I
I
I
I
I
I
I
Output LO I
I
I
Source I
I
Measure V
T
I
-
-
-
--
- - - -
I
- - - - - - - - - - - - - - - - -
Figure
2-62.
Connections
to
Power
Source
(Source
I)
2-100
+

Other manuals for Keithley 237

Related product manuals