EasyManua.ls Logo

KitchenAid KSRS25ILBL01 - Motor and Ice Container Parts

KitchenAid KSRS25ILBL01
21 pages
Print Icon
To Next Page IconTo Next Page
To Next Page IconTo Next Page
To Previous Page IconTo Previous Page
To Previous Page IconTo Previous Page
Loading...
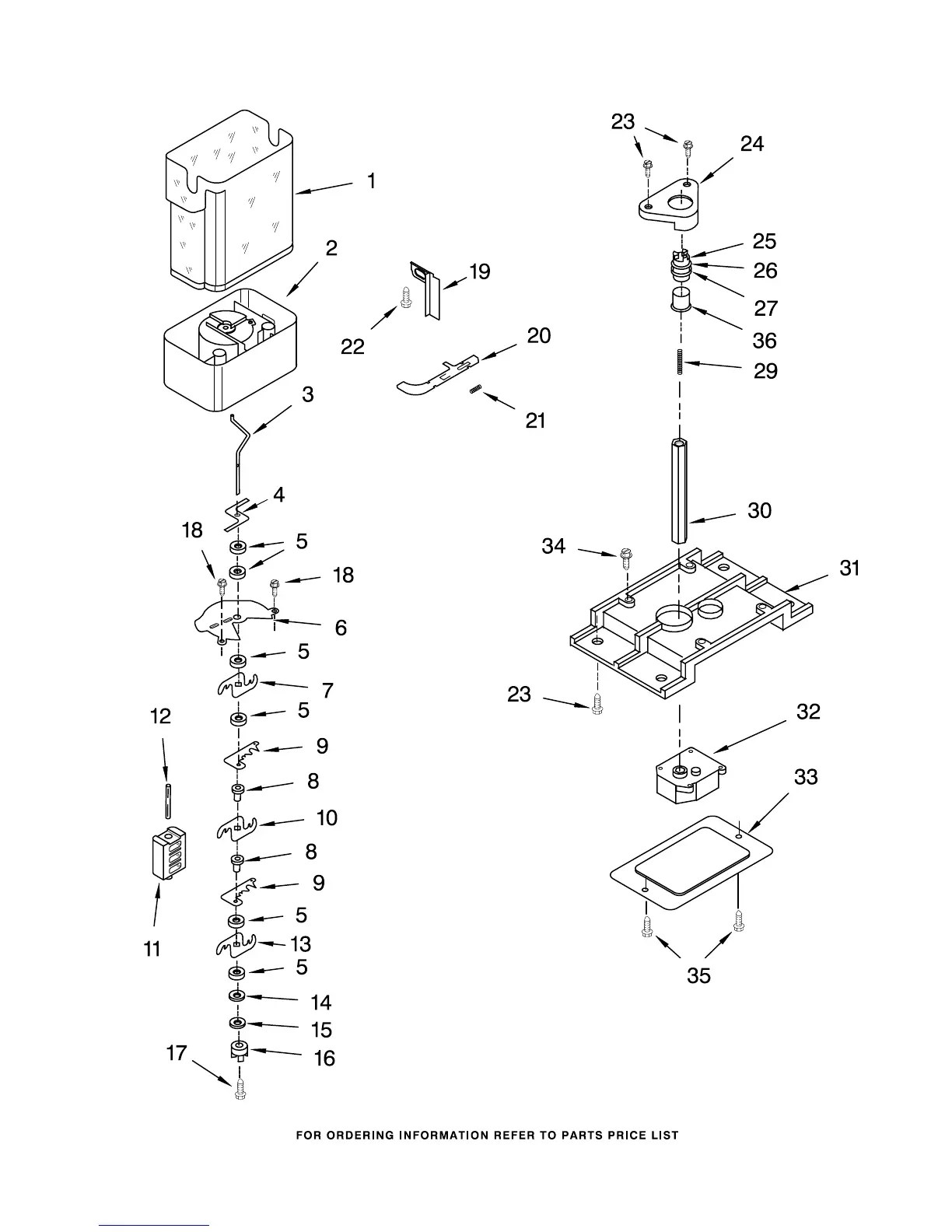
MOTOR AND ICE CONTAINER PARTS
7
For Models: KSRS25ILWH01, KSRS25ILBT01, KSRS25ILBL01, KSRS25ILSS01, KSRS25ILBU01
(White) (Biscuit) (Black) (Stainless Steel) (Cobalt Blue)
8198129

Related product manuals