EasyManua.ls Logo

KitchenAid KSRV22FVBL00 - Refrigerator Liner Parts

KitchenAid KSRV22FVBL00
21 pages
Print Icon
To Next Page IconTo Next Page
To Next Page IconTo Next Page
To Previous Page IconTo Previous Page
To Previous Page IconTo Previous Page
Loading...
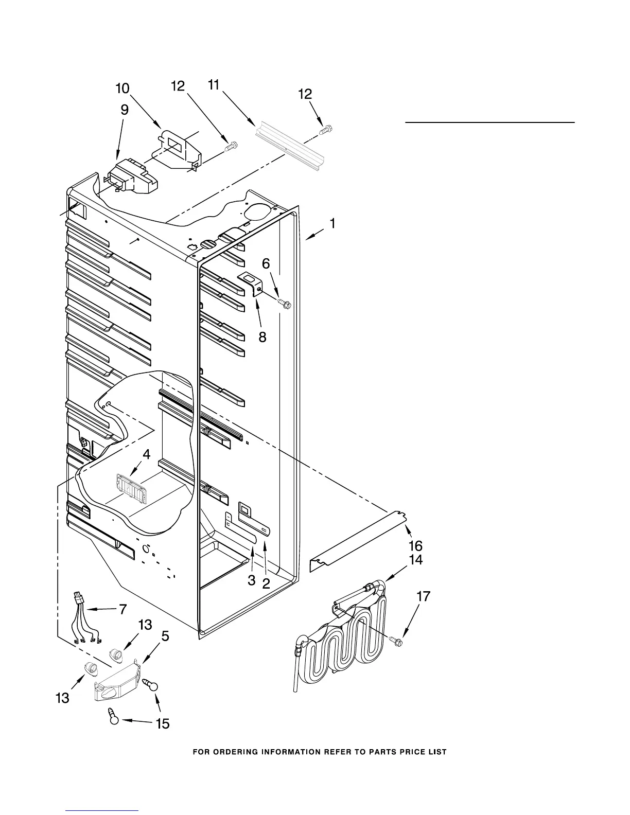
REFRIGERATOR LINER PARTS
3
For Models: KSRV22FVWH00, KSRV22FVBT00, KSRV22FVBL00, KSRV22FVSS00, KSRV22FVMS00
(White) (Biscuit) (Black) (Stainless) (Monochromatic Stainless)
W10216586
Illus. Part
No. No. DESCRIPTION
1 Liner (Not A
Serviceable Part)
2
W10175967
Escutcheon, Meat
Pan Control
3 2182757 Slide, Meat
Pan Control
4 2257741 Louver
5 2256035 Bracket, Dual
Crisper Light
6 489290 Screw
7 2311637 Wire Harness,
Crisper Light
8 2256085 Bracket, Retainer
9 2209754 Air Diffuser
Assembly
10 2152019 Air Diffuser
Cover
11 2150331 Cover, Conduit
12 486298 Screw
13 2162085 Socket
14 2307107 Reservoir
15 2311792 Light Bulb
16 2209769 Light Lens
17 488280 Screw (2)

Related product manuals