EasyManua.ls Logo

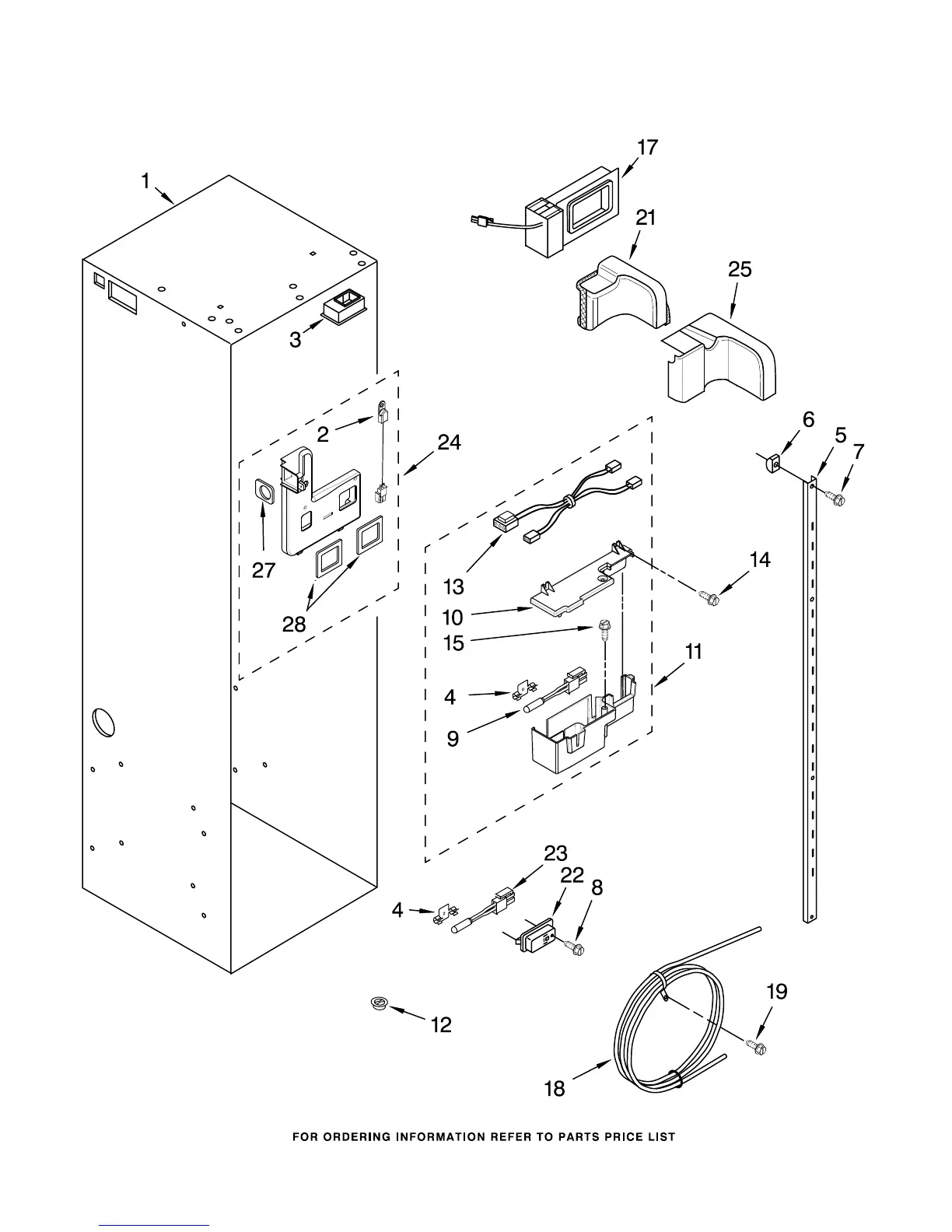
KitchenAid KSSC42QMS02 - Refrigerator Liner Parts; Refrigerator Liner Parts Diagram

KitchenAid KSSC42QMS02
26 pages
Print Icon
To Next Page IconTo Next Page
To Next Page IconTo Next Page
To Previous Page IconTo Previous Page
To Previous Page IconTo Previous Page
Loading...
5
REFRIGERATOR LINER PARTS
For Model: KSSC42QMS02
(Stainless Steel)
8214655

Other manuals for KitchenAid KSSC42QMS02

Related product manuals