EasyManua.ls Logo

Klarstein Tomahawk 3.OT - Installation

Klarstein Tomahawk 3.OT
Print Icon
To Next Page IconTo Next Page
To Next Page IconTo Next Page
To Previous Page IconTo Previous Page
To Previous Page IconTo Previous Page
Loading...
27
EN
INSTALLATION
WARNING: Whilst every effort has made in manufacture of your barbecue to remove
any sharp edges, you should handle all components with care in order to avoid
accidental injury.
Tools required: Either a Phillips screwdriver or at-bladed screwdriver and either a
spanner (we have supplied a multifunction spanner) or a pair of pliers.
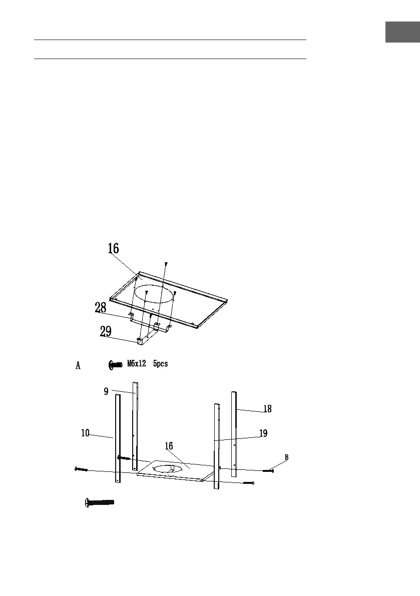
Assembly
Please read all instructions thoroughly before proceeding. Find a large, clean area in
which to assemble your trolley barbecue. Please refer to the parts list and assembly
diagram as necessary. Assembly of the barbecue involves many large components, it is
advisable to have two people assemble the unit.
B.
X 4
2
1

Related product manuals