EasyManua.ls Logo

KLUBB K42P - Hydraulic and Electric Diagrams; Hydraulic Drawings

Default Icon
64 pages
Print Icon
To Next Page IconTo Next Page
To Next Page IconTo Next Page
To Previous Page IconTo Previous Page
To Previous Page IconTo Previous Page
Loading...
50
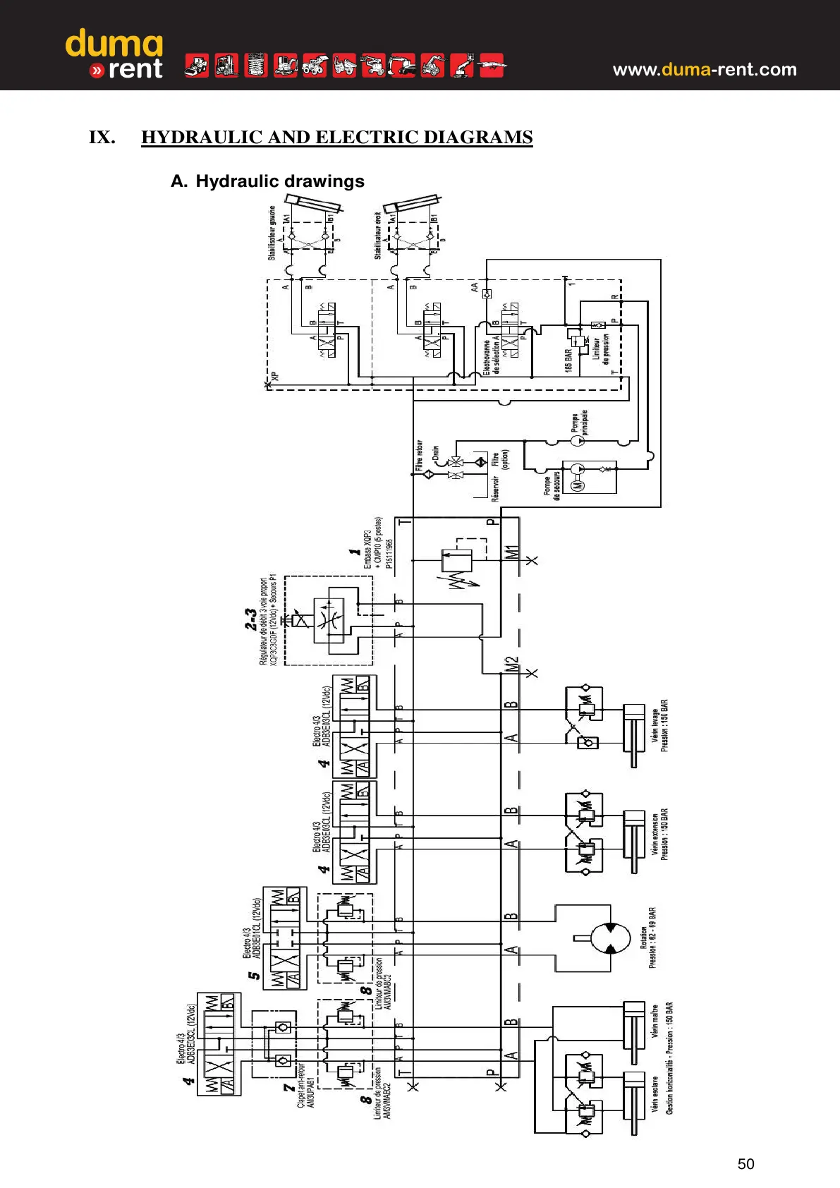
IX. HYDRAULIC AND ELECTRIC DIAGRAMS
A. Hydraulic drawings
www.duma-rent.com

Related product manuals