EasyManua.ls Logo

Komatsu D31EX-21 - Page 74

Komatsu D31EX-21
256 pages
Print Icon
To Next Page IconTo Next Page
To Next Page IconTo Next Page
To Previous Page IconTo Previous Page
To Previous Page IconTo Previous Page
Loading...
EXPLANATION OF COMPONENTS OPERATION
3-22
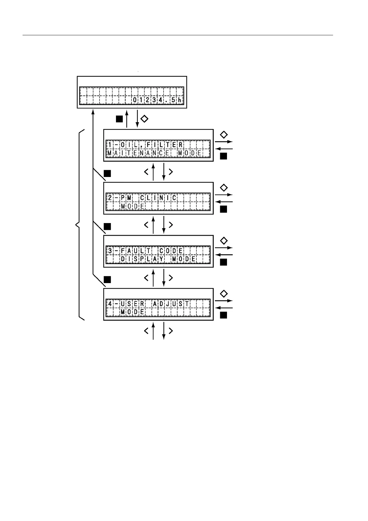
METHOD OF SELECTING EACH MODE
Operating mode
(Hold for 2.5 sec)
Detailed item display
Detailed item display
Detailed item display
Detailed item display
Oil/filter maintenance mode
PM clinic auxiliary mode
Fault code display mode
Adjustment mode
Maintenance
mode
(To oil/filter maintenance mode)

Table of Contents

Related product manuals