EasyManua.ls Logo

Komatsu PC200 - Method of Disassembling and Connecting Push-Pull Type Coupler; Type 1 Disconnection; Type 1 Connection

Komatsu PC200
41 pages
Print Icon
To Next Page IconTo Next Page
To Next Page IconTo Next Page
To Previous Page IconTo Previous Page
To Previous Page IconTo Previous Page
Loading...
00-18 PC200/220(LC)-7
FOREWORD METHOD OF DISASSEMBLING AND CONNECTING PUSH-PULL TYPE COUPLER
(14)
METHOD OF DISASSEMBLING AND CONNECTING PUSH-PULL
TYPE COUPLER
k Before carrying out the following work, loosen the oil filler cap of the hydraulic tank gradually to re-
lease the residual pressure from the hydraulic tank.
k Even if the residual pressure is released from the hydraulic tank, some hydraulic oil flows out when
the hose is disconnected. Accordingly, prepare an oil receiving container.
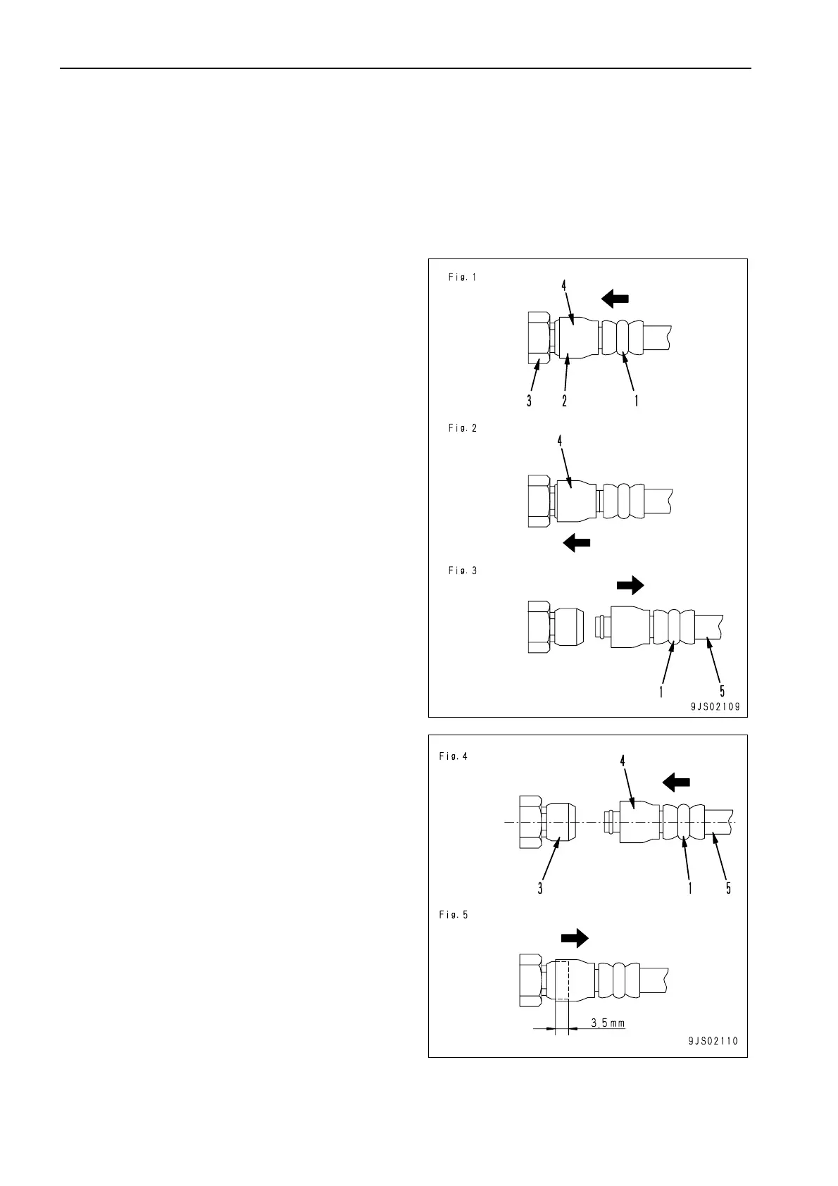
Type 1
1. Disconnection
1) Hold adapter (1) and push hose joint (2) into
mating adapter (3). (Fig. 1)
The adapter can be pushed in about 3.5
mm.
Do not hold rubber cap portion (4).
2) After hose joint (2) is pushed into adapter
(3), press rubber cap portion (4) against
adapter (3) until it clicks. (Fig. 2)
3) Hold hose adapter (1) or hose (5) and pull it
out. (Fig. 3)
Since some hydraulic oil flows out, pre-
pare an oil receiving container.
2. Connection
1) Hold hose adapter (1) or hose (5) and insert
it in mating adapter (3), aligning them with
each other. (Fig. 4)
Do not hold rubber cap portion (4).
2) After inserting the hose in the mating
adapter perfectly, pull it back to check its
connecting condition. (Fig. 5)
When the hose is pulled back, the rubber
cap portion moves toward the hose
about 3.5 mm. This does not indicate ab-
normality, however.

Related product manuals