EasyManua.ls Logo

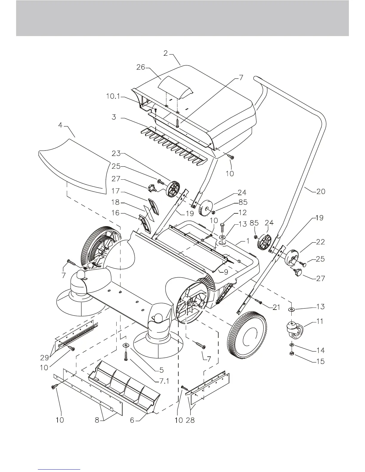
Kranzle 2+2 - Complete machine

Kranzle 2+2
20 pages
Print Icon
To Next Page IconTo Next Page
To Next Page IconTo Next Page
To Previous Page IconTo Previous Page
To Previous Page IconTo Previous Page
Loading...
8
Complete machine