EasyManua.ls Logo

Kroll W 401-L - Table of Contents

Kroll W 401-L
16 pages
Print Icon
To Next Page IconTo Next Page
To Next Page IconTo Next Page
To Previous Page IconTo Previous Page
To Previous Page IconTo Previous Page
Loading...
2
Bestell-Nr.
Requisition number
Numéro de commande
bis 2001 ab 2001
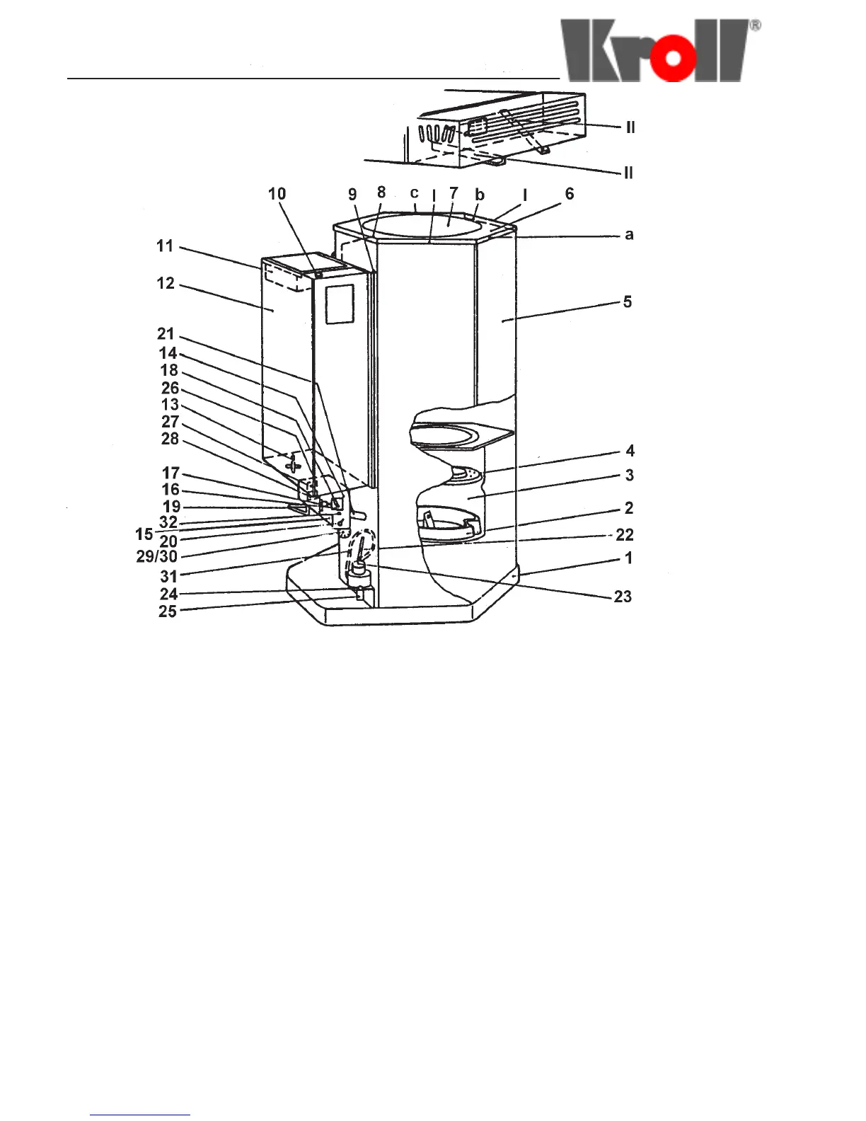
1 Auffangwanne 1 Drip pan 1 Bac-collecteur 5-1140-009-00 001813
2 Brennschale 2 Burner basin 2 Coupelle de combustion 6-1140-015-00 011639
3 Brennertopf 3 Oil chamber 3 Pot de combustion 4-1140-020-00 001455
4 Pilotring 4 Pilot ring 4 Stator d’évoporation 6-1140-522-00 011641
5 Brennkammer 5 Combustion chamber 5 Chambre de combustion 4-1140-030-00 001457
6 Abdeckplatte 6 Cover plate 6 Couronne de couvercle 5-1140-041-00 001823
7 Deckel 7 Lid 7 Couvercle 5-1140-529-00 001856
8 Umlenkklappe 8 Baffle 8 Chicane 5-1140-040-00 001822
9 Blende 9 Housing 9 Ecran thermique 5-1140-043-00 001825
10 Hauptabstellhahn 10 Main stopcock 10 Robinet principal 6-0300-056-00 005290
11 Sieb 11 Strainer 11 Tamis 4-1140-060-00 001460
12 Tank 12 Tank 12 Réservoir 3-1140-050-10 000950
13 Wasserablaßhahn 13 Water drainage cock 13 Robinet de purge 6-0300-001-00 005251
14 Motorkonsole 14 Motor mount 14 Support de moteur 2-1140-065-00 000717
15 Motordeckel 15 Motor cover 15 Couvercle de moteur 5-1140-072-00 001833
16 Motor 16 Motor 16 Moteur 6-0300-132-00 005351
17 Zahnradpumpe 17 Gear pump 17 Pompe à engenages 6-0300-341-00 005513
18 Abstellhahn-Oberteil
Abstellhahn-Unterteil
18 Stopcock bass upper part
Stopcock bass lower part
18 Robinet socle partie supérieure
Robinet socle patie inférieure
6-1140-557-00 011645
011644
19 Ölleitungs-Rohrbogen 19 Oil feed line 19 Tuyau de liaison 3-1140-133-00 000954
20 Wippschalter 20 Rocker switch 20 Commutateur 6-0400-148-00 006529
21 Einlaufrohr 21 Oil inlet 21 Canne d’alimentation 2-1140-129-00 000720
22 Überlaufrohr 22 Overflow pipe 22 Tuyau de trop-plein 5-1140-112-00 001835
23 Alu-Becher 24 Aluminium catchment 23 Godet en alu 6-0300-003-00 005252
24 Mikroschalterhalter 24 Microswitch holder 24 Support de microrupteur 6-0400-175-00 006556
25 Mikroschalter 25 Microswitch 25 Microrupteur 6-0400-098-00 006484
26 Steckdose 26 Socket 26 Prise de courant 6-0400-005-00 006404
27 Netzanschl mit Stecker 27 Power cord with plug 27 Câble d’alimentation avec prise 6-0400-060-00 006450
28 Netzanschl 28 Cable with plug 28 Câble avec prise 6-0400-057-00 006448
29 Verbrennungsluftgebläse 29 Combustion air fan 29 Soufflerie de combustion 5-1140-114-00 001837
30 Gebläseisolierung 30 Fan insulating 30 Isolement de soufflerie 6-1140-614-00 011649
31 Thermostat 31 Thermostat 31 Thermostat 6-0300-243-00 005439
32 Mutter 32 Nut 32 Ecrou 6-0200-261-00 003504
33 Festspannscheibe 33 Tightening disk 33 Rondelle de serrage 4-1140-023-00 001456
34 Dichtung 34 Special sial 34 Joint spécial 6-0300-178-00 005386
35 O-Ring 35 Seal 35 Joint 6-0200-075-00 003370
36 Übergangsstück oben 36 Upper adaption portion 36 Raccord supérior 6-1140-572-00 011646
37 Fiberdichtung 37 Fiber seal 37 Joint en fibre 6-0200-037-00 003339
38 Übergangsstück unter 38 Lower adaption portion 38 Raccord inférieur 6-1140-573-00 011647
39 Kupplungsstück mit Schlitz 39 Clutch disk slit 39 Disque d’accouplement avec fente 6-0301-673-00 006339
40 Kupplungsstück mit Stift 40 Clutch disk with peg 40 Disque d’accouplement avec
goupille
6-0301-674-00 011647