EasyManua.ls Logo

Kubler CODIX 565 - Page 96

Kubler CODIX 565
Print Icon
To Next Page IconTo Next Page
To Next Page IconTo Next Page
To Previous Page IconTo Previous Page
To Previous Page IconTo Previous Page
Loading...
8 Programación
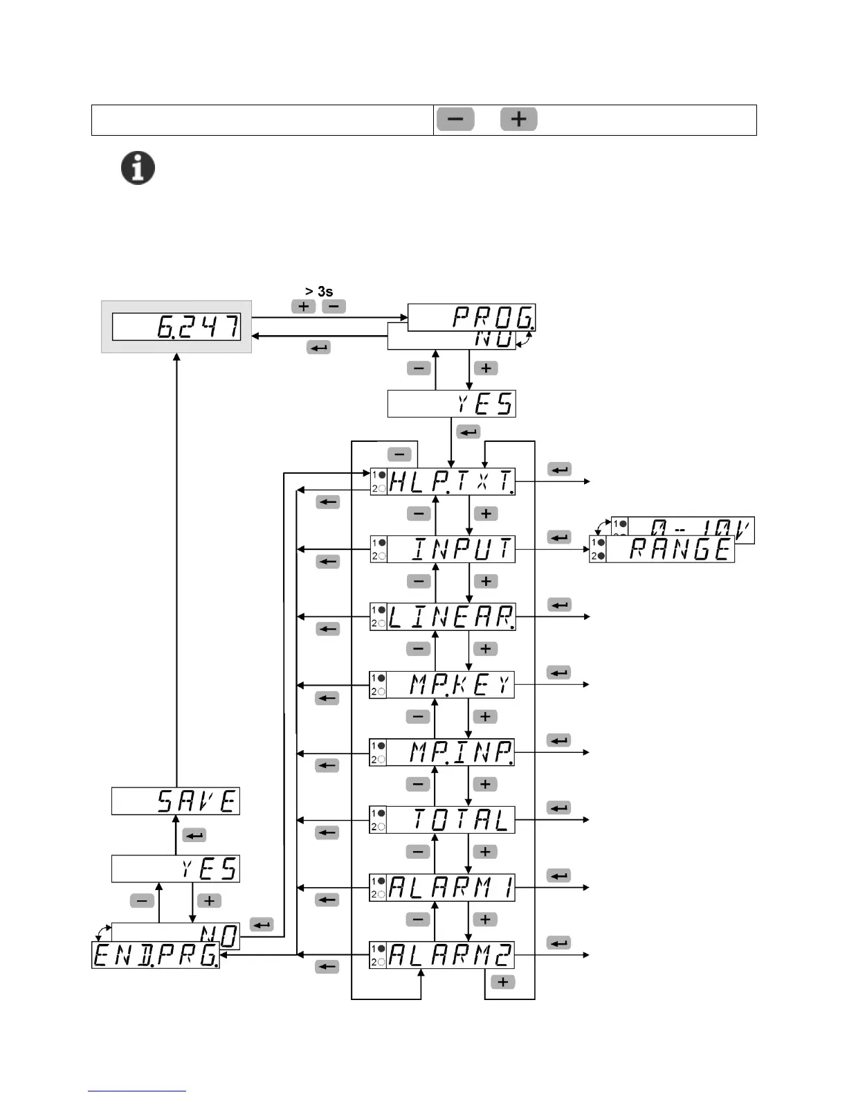
Acceso al menú de programación
+ >3 seg
Durante la programación están inactivos los relés (no energizados).
Al salir del menú de programación con SAVE se borra el valor mínimo, el valor máximo y
el valor del totalizador.
Acceso al menú de programación / Elección del grupo de funciones / Salida del menú de
programación
M
ODO DE SERVICIO
Página 8