EasyManua.ls Logo

Kubota D1105-E4 - Page 40

Kubota D1105-E4
40 pages
Print Icon
To Previous Page IconTo Previous Page
To Previous Page IconTo Previous Page
Loading...
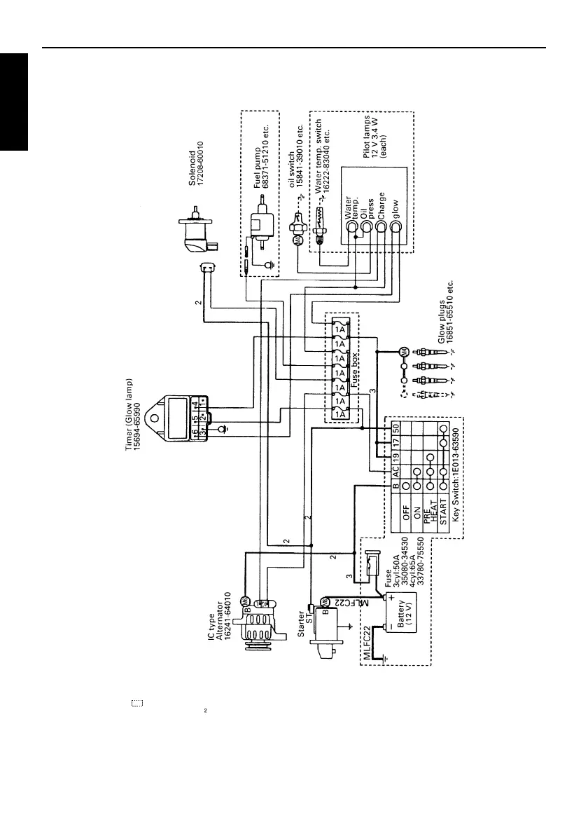
28 WIRING DIAGRAMS
ENGLISH
KEA/SAE standard
(Energize to run)
The parts boxed in are reference, NOT equiped for standard engine spec.
Non marked wire dia. is 0.8~1.25 mm .

Related product manuals