EasyManua.ls Logo

Kustom 36 coupe - Bottom Panel Components

Kustom 36 coupe
28 pages
Print Icon
To Next Page IconTo Next Page
To Next Page IconTo Next Page
To Previous Page IconTo Previous Page
To Previous Page IconTo Previous Page
Loading...
23
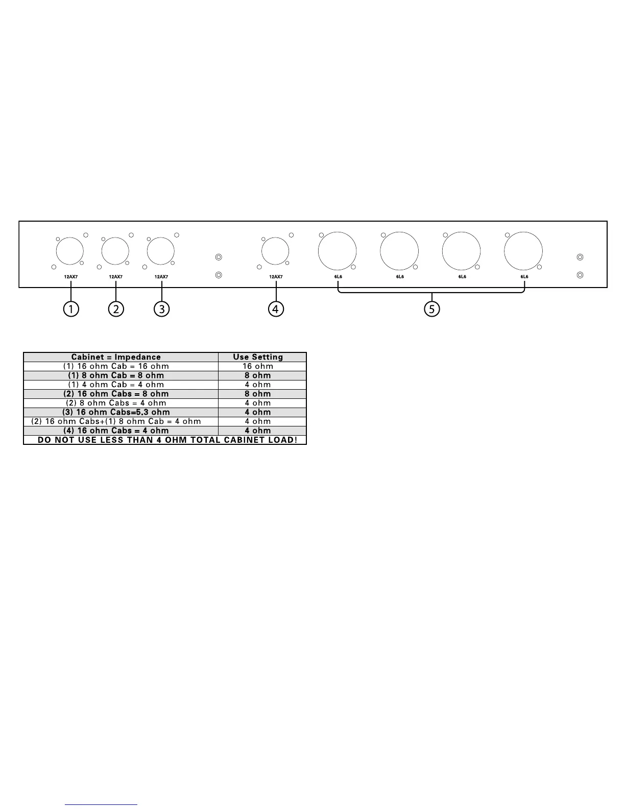
9) Impedance Selector—This switch is used to select the appropriate impedance,
and is important in achieving the desired results from the Coupe amplifiers. The cor-
rect impedance should be selected using the Impedance Selector Switch as follows:
Incorrectly “mismatching” the amp to the speaker should not damage the amplifier,
but would result in lower output powers, and could result in shorter output tube life.
The Coupe amplifier should never be operated without a speaker plugged into a
speaker jack.
10) Speaker Outputs—These 1⁄4” jacks are provided to connect the internal and/or
external speakers to the Coupe amplifier.
11) Power Cord Receptacle/Fuse Holder: Insert the AC cord (provided) firmly into
the AC connector. NOTE: Replace the AC power cord if protective jacket is damaged or
ground pin is damaged or removed. The fuse is located in a housing just below the re-
ceptacle. Replace only with same type and size. To remove the fuse, remove AC power
cord and pull out on the tab above the fuse symbol located on the fuse carriage. Place
the new fuse in the carriage clip and re-insert. NOTE: To prevent an electrical hazard,
DO NOT replace fuse without using the fuse carriage. Replace the fuse carriage if lost
or damaged before re-inserting the AC power cord.
’72 Coupe Hardtop Bottom
1) Preamp Tube 1
—This 12AX7 is the input tube, and as such, is the most likely
to cause microphonic problems, especially in the lead channel, and it is also shared
by both channels. If tube feedback occurs, it can usually be corrected by swapping
this 1st tube with one of the other tube locations, since they have less gain following
them and are less prone to feedback. The first tube also has the greatest affect on the
“cleaned up” tone of the amp, i.e. the tone when the guitar is turned down.
2) Preamp Tube 2
—This 12AX7 is used on both channels, but has the biggest im-
pact to the lead channel since it has the additional stage required for the very large
amount of gain.
3) Effects Loop/Boost Tube
—The Coupe amplifiers use an all-tube effects loop to
preserve the tube sound through the signal path. This single tube is used for both the
Effects Loop Send/Return and the footswitchable Volume Boost circuit.
4) Phase Inverter Tube
—The phase inverter tube uses a single 12AX7 in what’s
called a long-tail pair configuration. This results in the most signal swing possible for
driving a power amp, and the most symmetrical drive capability, as well.
5) 6L6 Output Tubes
—These power tubes were selected to provide the best com-
bination of performance and tube life, and shouldn’t require adjustment to their bias.
The amp uses a mixed-bias system which is a combination of fixed and self-bias tech-
niques to give the user the best of both worlds. The result is that the amp will control
its own bias to a certain point, but without the typical reduction in power associated
with normal self-biased amp designs. The ’72 Coupe uses four 6L6s in a “push-pull”
amplifier configuration.
7 2 C o u p e H a r d t o p C o n t r o l P a n e l s

Related product manuals