EasyManua.ls Logo

La Gard 4715 - Entry Device Mounting Templates

Default Icon
13 pages
Print Icon
To Next Page IconTo Next Page
To Next Page IconTo Next Page
To Previous Page IconTo Previous Page
To Previous Page IconTo Previous Page
Loading...
(P/N)762.128 Rev E • 08/15 © copyright 2009-2015 Kaba Mas LLC
page 3
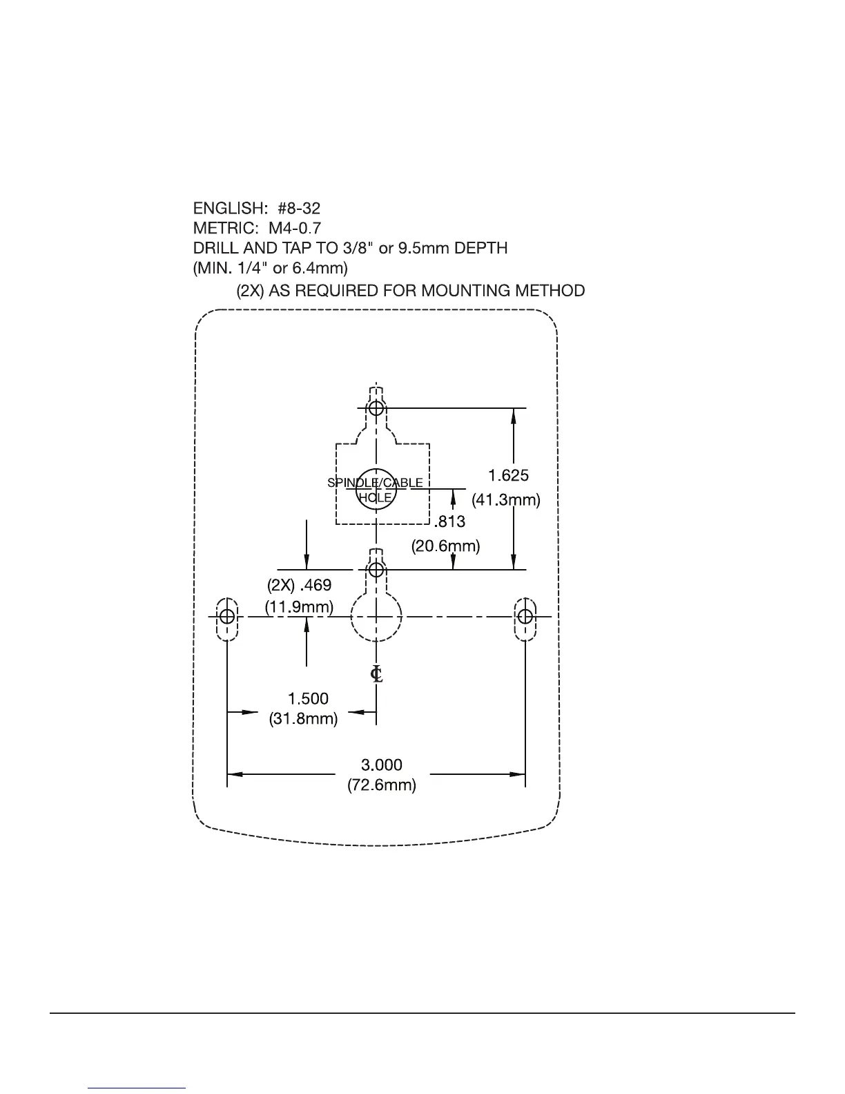
8130 ENTRY DEVICE MOUNTING TEMPLATE
DO NOT SCALE