EasyManua.ls Logo

lamber L20 - Page 12

lamber L20
Print Icon
To Next Page IconTo Next Page
To Next Page IconTo Next Page
To Previous Page IconTo Previous Page
To Previous Page IconTo Previous Page
Loading...
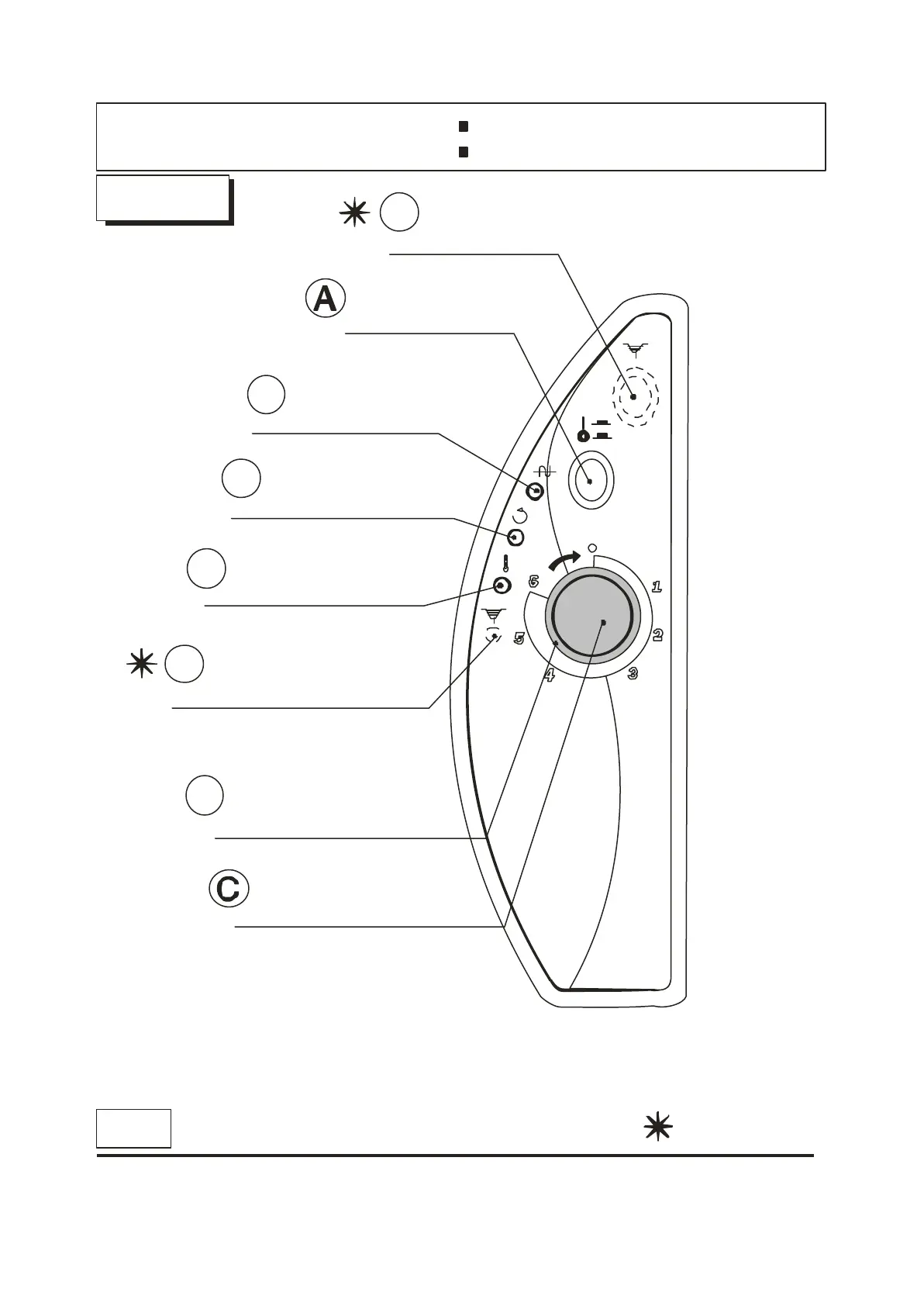
Dis.1
Interruttore generale
Interrupteur général
Main switch
Hauptschalter
Selettore tempo lavaggio
Selecteur temps de lavage
Wash time selection
Programmwahlschalter
Lampada linea
Lampe indicatrice de ligne
Main switch lamp
Netzkontrollampe
Lampada ciclo
Lampe indicatrice de cycle
Cycle lamp
Programmkontrollampe
Lampada temperatura
Lampe témperature
Temperature lamp
Temperaturekontrollampe
PANNELLO COMANDI EMPLOI CONTROLES
CONTROL PANEL STEUERTAFEL
L20
Lampada pompa scarico
Lampe pompe de vidange
Drain pump lamp
Kontrollampe für Ablaufpumpe
Pompa di scarico
Pompe de vidange
Drain pumpe
Ablaufpumpe
OPTIONAL
H
R
D
B
E
F
Pulsante ciclo
Bouton cycle
Cycle pushbutton
Programmstarter

Related product manuals