EasyManua.ls Logo

LANBO LB80BC - Structure Diagram: LW144 T

LANBO LB80BC
31 pages
Print Icon
To Next Page IconTo Next Page
To Next Page IconTo Next Page
To Previous Page IconTo Previous Page
To Previous Page IconTo Previous Page
Loading...
10
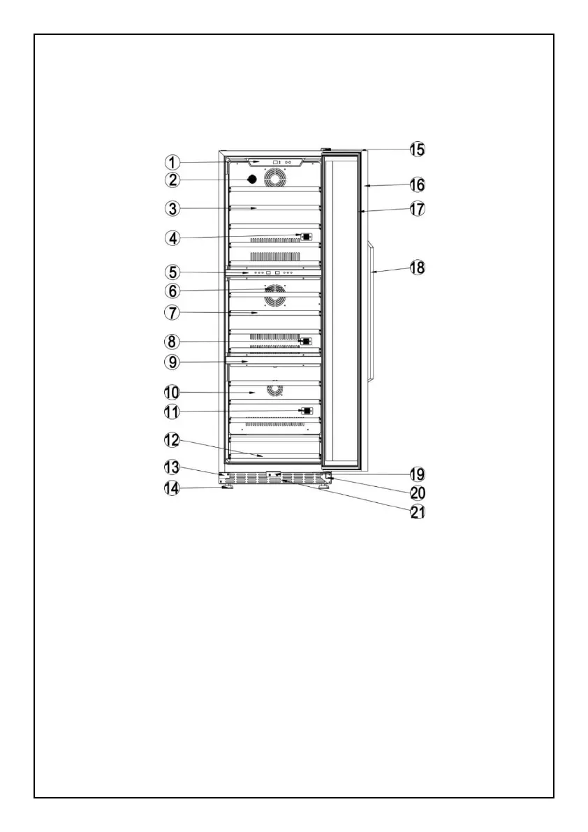
4. LW144T structure diagram
(1) Upper control panel (2) Carbon filter (3) Full wooden shelf (4) The upper
sensor (5) Middle control panel (6) Middle fan (7) Full wooden shelf (8) The
middle sensor (9) Baffle plate (10) The back air-duct Board (11) The lower
sensor (12) Small wooden shelf (13) Prevent fall device of the door
(14) Adjustable feet (15) Upper hinge (16) Glass door with lock (17) Door
gasket (18) Handle (19) Lock hook (20) Lower hinge (21) The front vent